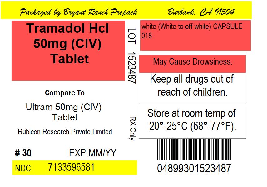
TRAMADOL HYDROCHLORIDE tablet, coated

Tramadol Hydrochloride by

Drug Labeling and Warnings

Tramadol Hydrochloride by is a Prescription medication manufactured, distributed, or labeled by Bryant Ranch Prepack. Drug facts, warnings, and ingredients follow.

Drug Details [pdf]

  • BOXED WARNING (What is this?)

    WARNING: SERIOUS AND LIFE-THREATENING RISKS FROM USE OF TRAMADOL HYDROCHLORIDE TABLETS

    Addiction, Abuse And Misuse

    Because the use of tramadol hydrochloride tablets exposes patients and other users to the risks of opioid addiction, abuse, and misuse, which can lead to overdose and death, assess each patient’s risk prior to prescribing and reassess all patients regularly for the development of these behaviors and conditions [see Warnings and Precautions (5.1)] .

    Life-Threatening Respiratory Depression

    Serious, life-threatening, or fatal respiratory depression may occur with use of tramadol hydrochloride tablets, especially during initiation or following a dosage increase. To reduce the risk of respiratory depression, proper dosing and titration of Tramadol hydrochloride tablets are essential [see Warnings and Precautions (5.2)].

    Accidental Ingestion

    Accidental ingestion of even one dose of tramadol hydrochloride tablets, especially by children, can result in a fatal overdose of tramadol [see Warnings and Precautions (5.2)].

    Risks From Concomitant Use with Benzodiazepines or Other CNS Depressants

    Concomitant use of opioids with benzodiazepines or other central nervous system (CNS) depressants, including alcohol, may result in profound sedation, respiratory depression, coma, and death. Reserve concomitant prescribing of tramadol hydrochloride tablets and benzodiazepines or other CNS depressants for use in patients for whom alternative treatment options are inadequate [see Warnings and Precautions (5.3), Drug Interactions (7)].

    Neonatal Opioid Withdrawal Syndrome (NOWS)

    Advise pregnant women using opioids for an extended period of time of the risk of Neonatal Opioid Withdrawal Syndrome, which may be life-threatening if not recognized and treated. Ensure that management by neonatology experts will be available at delivery [see Warnings and Precautions (5.4)].

    Opioid Analgesic Risk Evaluation and Mitigation Strategy (REMS)

    Healthcare providers are strongly encouraged to complete a REMS compliant education program and to counsel patients and caregivers on serious risks, safe use, and the importance of reading the Medication Guide with each prescription [see Warnings and Precautions (5.5)].

    Ultra-Rapid Metabolism of Tramadol and other Risk Factors for Life-Threatening Respiratory Depression in Children

    Life-threatening respiratory depression and death have occurred in children who received tramadol. Some of the reported cases followed tonsillectomy and/or adenoidectomy; in at least one case, the child had evidence of being an ultra-rapid metabolizer of tramadol due to a CYP2D6 polymorphism [see Warnings and Precautions (5.6)] . Tramadol hydrochloride tablets is contraindicated in children younger than 12 years of age and in children younger than 18 years of age following tonsillectomy and/or adenoidectomy [see Contraindications (4)] . Avoid the use of tramadol hydrochloride tablets in adolescents 12 to 18 years of age who have other risk factors that may increase their sensitivity to the respiratory depressant effects of tramadol [see Warnings and Precautions (5.6)] .

    Interactions with Drugs Affecting Cytochrome P450 Isoenzymes

    The effects of concomitant use or discontinuation of cytochrome P450 3A4 inducers, 3A4 inhibitors, or 2D6 inhibitors with tramadol are complex. Use of cytochrome P450 3A4 inducers, 3A4 inhibitors, or 2D6 inhibitors with tramadol hydrochloride tablets requires careful consideration of the effects on the parent drug, tramadol, and the active metabolite, M1 [see Warnings and Precautions (5.7); Drug Interactions (7)] .

  • 1 INDICATIONS AND USAGE

    Tramadol Hydrochloride Tablets, USP are indicated in adults for the management of pain severe enough to require an opioid analgesic and for which alternative treatments are inadequate.

    Limitations of Use

    • Because of the risks of addiction, abuse, misuse, overdose, and death, which can occur at any dosage or duration, and persist over the course of therapy [see Warnings and Precautions (5.1)] reserve opioid analgesics, including tramadol hydrochloride tablets for use in patients for whom alternative treatment options are ineffective, not tolerated, or would be otherwise inadequate to provide sufficient management of pain.
  • 2 DOSAGE AND ADMINISTRATION

    2.1 Important Dosage and Administration Instructions

    • Do not use Tramadol hydrochloride tablets concomitantly with other tramadol-containing products.
    • Tramadol hydrochloride tablets should be prescribed only by healthcare professionals who are knowledgeable about the use of opioids and how to mitigate the associated risks.
    • Use the lowest effective dosage for the shortest duration of time consistent with individual patient treatment goals [see Warnings and Precautions (5)] . Because the risk of overdose increases as opioid doses increase, reserve titration to higher doses of tramadol hydrochloride tablets for patients in whom lower doses are insufficiently effective and in whom the expected benefits of using a higher dose opioid clearly outweigh the substantial risks.
    • Many acute pain conditions (e.g., the pain that occurs with a number of surgical procedures or acute musculoskeletal injuries) require no more than a few days of an opioid analgesic. Clinical guidelines on opioid prescribing for some acute pain conditions are available.
    • There is variability in the opioid analgesic dose and duration needed to adequately manage pain due both to the cause of pain and to individual patient factors. Initiate the dosing regimen for each patient individually, taking into account the patient’s underlying cause and severity of pain, prior analgesic treatment and response, and risk factors for addiction, abuse, and misuse [see Warnings and Precautions (5.1)] .
    • Respiratory depression can occur at any time during opioid therapy, especially when initiating and following dosage increases with tramadol hydrochloride tablets. Consider this risk when selecting an initial dose and when making dose adjustments [see Warnings and Precautions (5)].

    2.2 Patient Access to an Opioid Overdose Reversal Agent for the Emergency Treatment of Opioid Overdose

    Inform patients and caregivers about opioid overdose reversal agents (e.g., naloxone, nalmefene). Discuss the importance of having access to an opioid overdose reversal agent, especially if the patient has risk factors for overdose (e.g., concomitant use of CNS depressants, a history of opioid use disorder, or prior opioid overdose) or if there are household members (including children) or other close contacts at risk for accidental ingestion or opioid overdose. The presence of risk factors for overdose should not prevent the management of pain in any patient [see Warnings and Precautions ( 5.1, 5.2, 5.3)].

    Discuss the options for obtaining an opioid overdose reversal agent (e.g., prescription, over-the-counter, or as part of a community-based program) [see Warnings and Precautions (5.2)] .

    There are important differences among the opioid overdose reversal agents, such as route of administration, product strength, approved patient age range, and pharmacokinetics. Be familiar with these differences, as outlined in the approved labeling for those products, prior to recommending or prescribing such an agent.

    2.3 Initial Dosage

    Initiating Treatment with Tramadol hydrochloride tablets

    Initiate treatment at the lowest dose necessary to achieve adequate analgesia. Titrate the dose based upon the individual patient’s response to their initial dose of Tramadol hydrochloride tablets.

    For patients not requiring rapid onset of analgesic effect, the tolerability of tramadol hydrochloride tablets can be improved by initiating therapy with the following titration regimen: Start tramadol hydrochloride tablets at 25 mg/day and titrated in 25 mg increments as separate doses every 3 days to reach 100 mg/day (25 mg four times a day). Thereafter the total daily dose may be increased by 50 mg as tolerated every 3 days to reach 200 mg/day (50 mg four times a day). After titration, tramadol hydrochloride tablets 50 to 100 mg can be administered as needed for pain relief every 4 to 6 hours not to exceed 400 mg/day.

    For the subset of patients for whom rapid onset of analgesic effect is required and for whom the benefits outweigh the risk of discontinuation due to adverse events associated with higher initial doses, tramadol hydrochloride tablets 50 mg to 100 mg can be administered as needed for pain relief every four to six hours, not to exceed 400 mg per day

    Conversion from Tramadol hydrochloride to Extended-Release Tramadol

    The relative bioavailability of tramadol hydrochloride compared to extended-release tramadol is unknown, so conversion to extended-release formulations may lead to increased risk of excessive sedation and respiratory depression.

    Dosage Modification in Patients with Hepatic Impairment

    The recommended dose for adult patients with severe hepatic impairment is 50 mg every 12 hours.

    Dosage Modification in Patients with Renal Impairment

    In all patients with creatinine clearance less than 30 mL/min, it is recommended that the dosing interval of tramadol hydrochloride tablets be increased to 12 hours, with a maximum daily dose of 200 mg. Since only 7% of an administered dose is removed by hemodialysis, dialysis patients can receive their regular dose on the day of dialysis.

    Dosage Modification in Geriatric Patients

    Do not exceed a total dose of 300 mg/day in patients over 75 years old.

    2.4 Titration and Maintenance of Therapy

    Individually titrate tramadol hydrochloride tablets to a dose that provides adequate analgesia and minimizes adverse reactions. Continually reevaluate patients receiving tramadol hydrochloride tablets to assess the maintenance of pain control and the relative incidence of adverse reactions, as well as to reassess for the development of addiction, abuse, or misuse [see Warnings and Precautions (5.1)] . Frequent communication is important among the prescriber, other members of the healthcare team, the patient, and the caregiver/family during periods of changing analgesic requirements, including initial titration.

    If the level of pain increases after dosage stabilization, attempt to identify the source of increased pain before increasing the tramadol hydrochloride tablets dosage. If unacceptable opioid-related adverse reactions are observed, consider reducing the dosage. Adjust the dosage to obtain an appropriate balance between management of pain and opioid-related adverse reactions.

    2.5 Safe Reduction or Discontinuation of tramadol hydrochloride tablets

    Do not rapidly reduce or abruptly discontinue tramadol hydrochloride tablets in patients who may be physically dependent on opioids. Rapid reduction or abrupt discontinuation of opioid analgesics in patients who are physically dependent on opioids has resulted in serious withdrawal symptoms, uncontrolled pain, and suicide. Rapid reduction or abrupt discontinuation has also been associated with attempts to find other sources of opioid analgesics, which may be confused with drug-seeking for abuse. Patients may also attempt to treat their pain or withdrawal symptoms with illicit opioids, such as heroin, and other substances.

    When a decision has been made to decrease the dose or discontinue therapy in an opioid-dependent patient taking tramadol hydrochloride tablets, there are a variety of factors that should be considered, including the dose of tramadol hydrochloride tablets the patient has been taking, the duration of treatment, the type of pain being treated, and the physical and psychological attributes of the patient. It is important to ensure ongoing care of the patient and to agree on an appropriate tapering schedule and follow up plan so that patient and provider goals and expectations are clear and realistic. When opioid analgesics are being discontinued due to a suspected substance use disorder, evaluate and treat the patient, or refer for evaluation and treatment of the substance use disorder. Treatment should include evidence-based approaches, such as medication assisted treatment of opioid use disorder. Complex patients with comorbid pain and substance use disorders may benefit from referral to a specialist.

    There are no standard opioid tapering schedules that are suitable for all patients. Good clinical practice dictates a patient-specific plan to taper the dose of the opioid gradually. For patients on tramadol hydrochloride tablets who are physically opioid-dependent, initiate the taper by a small enough increment, (e.g., no greater than 10% to 25% of the total daily dose) to avoid withdrawal symptoms, and proceed with dose-lowering at an interval of every 2 to 4 weeks. Patients who have been taking opioids for briefer periods of time may tolerate a more rapid taper.

    It may be necessary to provide the patient with a lower dosage strength to accomplish a successful taper. Reassess the patient frequently to manage pain and withdrawal symptoms, should they emerge. Common withdrawal symptoms include restlessness, lacrimation, rhinorrhea, yawning, perspiration, chills, myalgia, and mydriasis. Other signs and symptoms also may develop, including irritability, anxiety, backache, joint pain, weakness, abdominal cramps, insomnia, nausea, anorexia, vomiting, diarrhea, or increased blood pressure, respiratory rate, or heart rate. If withdrawal symptoms arise, it may be necessary to pause the taper for a period of time or raise the dose of the opioid analgesic to the previous dose, and then proceed with a slower taper. In addition, monitor patients for any changes in mood, emergence of suicidal thoughts, or use of other substances.

    When managing patients taking opioid analgesics, particularly those who have been treated for a longer duration and/or with high doses for chronic pain, ensure that a multimodal approach to pain management, including mental health support (if needed), is in place prior to initiating an opioid analgesic taper. A multimodal approach to pain management may optimize the treatment of chronic pain, as well as assist with the successful tapering of the opioid analgesic [see Warnings and Precautions (5.17), Drug Abuse and Dependence (9.3)] .

  • 3 DOSAGE FORMS AND STRENGTHS

    Tramadol Hydrochloride Tablets, USP 25 mg are white to off white round shaped film coated tablet debossed with “A7” on one side and “/” on other side.

    Tramadol Hydrochloride Tablets, USP 50 mg are white to off white, capsule-shaped film coated tablet debossed with “018” on one side and scored on other side.

    Tramadol Hydrochloride Tablets, USP 75 mg are white to off white, capsule shaped film coated tablet debossed with “/F” on one side and “11” on either side of score line and plain on other side.

    Tramadol Hydrochloride Tablets, USP 100 mg are white to off white, capsule-shaped film coated tablet debossed with “019” on one side and scored on other side.

  • 4 CONTRAINDICATIONS

    Tramadol Hydrochloride Tablets, USP are contraindicated for:

    Tramadol Hydrochloride Tablets, USP are also contraindicated in patients with:

  • 5 WARNINGS AND PRECAUTIONS

    5.1 Addiction, Abuse, and Misuse

    Tramadol hydrochloride tablets contains tramadol, a Schedule IV controlled substance. As an opioid, tramadol hydrochloride tablets exposes users to the risks of addiction, abuse, and misuse [see Drug Abuse and Dependence (9)]

    Although the risk of addiction in any individual is unknown, it can occur in patients appropriately prescribed tramadol hydrochloride tablets. Addiction can occur at recommended dosages and if the drug is misused or abused. The risk of opioid-related overdose or overdose-related death is increased with higher opioid doses, and this risk persists over the course of therapy. In postmarketing studies, addiction, abuse, misuse, and fatal and non-fatal opioid overdose were observed in patients with long-term opioid use [see Adverse Reactions (6.2)] .

    Assess each patient's risk for opioid addiction, abuse, or misuse prior to prescribing tramadol hydrochloride tablets, and reassess all patients receiving tramadol hydrochloride tablets for the development of these behaviors and conditions. Risks are increased in patients with a personal or family history of substance abuse (including drug or alcohol abuse or addiction) or mental illness (e.g., major depression). The potential for these risks should not, however, prevent the proper management of pain in any given patient. Patients at increased risk may be prescribed opioids such as tramadol hydrochloride tablets, but use in such patients necessitates intensive counseling about the risks and proper use of tramadol hydrochloride tablets along with frequent reevaluation for signs of addiction, abuse, and misuse. Consider recommending or prescribing an opioid overdose reversal agent [see Dosage and Administration (2.2), Warnings and Precautions (5.3)].

    Opioids are sought for non-medical use and are subject to diversion from legitimate prescribed use. Consider these risks when prescribing or dispensing tramadol hydrochloride tablets. Strategies to reduce these risks include prescribing the drug in the smallest appropriate quantity and advising the patient on the proper disposal of unused drug [see Patient Counselling Information (17)] . Contact local state professional licensing board or state controlled substances authority for information on how to prevent and detect abuse or diversion of this product.

    5.2 Life-Threatening Respiratory Depression

    Serious, life-threatening, or fatal respiratory depression has been reported with the use of opioids, even when used as recommended. Respiratory depression, if not immediately recognized and treated, may lead to respiratory arrest and death. Management of respiratory depression may include close observation, supportive measures, and use of opioid overdose reversal agents (e.g., naloxone, nalmefene), depending on the patient's clinical status [see Overdosage (10)] .  Carbon dioxide (CO 2) retention from opioid-induced respiratory depression can exacerbate the sedating effects of opioids.

    While serious, life-threatening, or fatal respiratory depression can occur at any time during the use of tramadol hydrochloride tablets, the risk is greatest during the initiation of therapy or following a dosage increase of tramadol hydrochloride tablets.

    To reduce the risk of respiratory depression, proper dosing and titration of tramadol hydrochloride tablets are essential [see Dosage and Administration (2)] . Overestimating the tramadol hydrochloride tablets dosage when converting patients from another opioid product can result in afatal overdose with the first dose.

    Accidental ingestion of even one dose of tramadol hydrochloride tablets, especially by children, can result in respiratory depression and death due to an overdose of tramadol.

    Educate patients and caregivers on how to recognize respiratory depression and emphasize the importance of calling 911 or getting emergency medical help right away in the event of a known or suspected overdose [see Patient Counseling Information (17)].

    Opioids can cause sleep-related breathing disorders including central sleep apnea (CSA) and sleep-related hypoxemia. Opioid use increases the risk of CSA in a dose-dependent fashion. In patients who present with CSA, consider decreasing the opioid dosage using best practices for opioid taper [see Dosage and Administration (2.5)]

    Patient Access to an Opioid Overdose Reversal Agent for the Emergency Treatment of Opioid Overdose

    Inform patients and caregivers about opioid overdose reversal agents (e.g., naloxone, nalmefene). Discuss the importance of having access to an opioid overdose reversal agent, especially if the patient has risk factors for overdose (e.g., concomitant use of CNS depressants, a history of opioid use disorder, or prior opioid overdose) or if there are household members (including children) or other close contacts at risk for accidental ingestion or opioid overdose. The presence of risk factors for overdose should not prevent the management of pain in any patient [see Warnings and Precautions ( 5.1, 5.3)] .

    Discuss the options for obtaining an opioid overdose reversal agent (e.g., prescription, over-the-counter, or as part of a community-based program).

    There are important differences among the opioid overdose reversal agents, such as route of administration, product strength, approved patient age range, and pharmacokinetics. Be familiar with these differences, as outlined in the approved labeling for those products, prior to recommending or prescribing such an agent.

    Educate patients and caregivers on how to recognize respiratory depression, and how to use an opioid overdose reversal agent for the emergency treatment of opioid overdose. Emphasize the importance of calling 911 or getting emergency medical help, even if an opioid overdose reversal agent is administered [see Dosage and Administration (2.2), Warnings and Precautions ( 5.1, 5.3), Overdosage (10)] .

    5.3 Risks from Concomitant Use with Benzodiazepines or Other CNS Depressants

    Profound sedation, respiratory depression, coma, and death may result from the concomitant use of tramadol hydrochloride tablets with benzodiazepines and/or other CNS depressants including alcohol (e.g., non-benzodiazepine sedatives/hypnotics, anxiolytics, tranquilizers, muscle relaxants, general anesthetics, antipsychotics, gabapentinoids [gabapentin or pregabalin] , and other opioids). Because of these risks, reserve concomitant prescribing of these drugs for use in patients for whom alternative treatment options are inadequate.

    Observational studies have demonstrated that concomitant use of opioid analgesics and benzodiazepines increases the risk of drug-related mortality compared to use of opioid analgesics alone. Because of similar pharmacological properties, it is reasonable to expect similar risk with the concomitant use of other CNS depressant drugs with opioid analgesics [see Drug Interactions (7)] .

    If the decision is made to prescribe a benzodiazepine or other CNS depressant concomitantly with an opioid analgesic, prescribe the lowest effective dosages and minimum durations of concomitant use. In patients already receiving an opioid analgesic, prescribe a lower initial dose of the benzodiazepine or other CNS depressant than indicated in the absence of an opioid, and titrate based on clinical response. If an opioid analgesic is initiated in a patient already taking a benzodiazepine or other CNS depressant, prescribe a lower initial dose of the opioid analgesic, and titrate based on clinical response. Inform patients and caregivers of this potential interaction, educate them on the signs and symptoms of respiratory depression (including sedation).

    If concomitant use is warranted, consider recommending or prescribing an opioid overdose reversal agent  [see Dosage and Administration (2.2), Warnings and Precautions (5.3), Overdosage (10)].

    5.4 Neonatal Opioid Withdrawal Syndrome

    Use of tramadol hydrochloride tablets for an extended period of time during pregnancy can result in withdrawal in the neonate. Neonatal opioid withdrawal syndrome, unlike opioid withdrawal syndrome in adults, may be life-threatening if not recognized and treated, and requires management according to protocols developed by neonatology experts. Observe newborns for signs of neonatal opioid withdrawal syndrome and manage accordingly. Advise pregnant women using opioids for an extended period of time of the risk of neonatal opioid withdrawal syndrome and ensure that appropriate treatment will be available [see Use in Specific Populations (8.1)and Patient Counseling Information (17)] .

    5.5 Risk Evaluation and Mitigation Strategy (REMS)

    To ensure that the benefits of opioid analgesics outweigh the risks of addiction, abuse, and misuse, the Food and Drug Administration (FDA) has required a Risk Evaluation and Mitigation Strategy (REMS) for these products. Under the requirements of the REMS, drug companies with approved opioid analgesic products must make REMS- compliant education programs available to healthcare providers. Healthcare providers are strongly encouraged to do all of the following:

    • Complete a REMS-compliant education program offered by an accredited provider of continuing education (CE) or another education program that includes all the elements of the FDA Education Blueprint for Health Care Providers Involved in the Management or Support of Patients with Pain.
    • Discuss the safe use, serious risks, and proper storage and disposal of opioid analgesics with patients and/or their caregivers every time these medicines are prescribed. The Patient Counseling Guide (PCG) can be obtained at this link: www.fda.gov/OpioidAnalgesicREMSPCG.
    • Emphasize to patients and their caregivers the importance of reading the Medication Guide that they will receive from their pharmacist every time an opioid analgesic is dispensed to them.
    • Consider using other tools to improve patient, household, and community safety, such as patient-prescriber agreements that reinforce patient-prescriber responsibilities.

    To obtain further information on the opioid analgesic REMS and for a list of accredited REMS CME/CE, call 1-800-503-0784, or log on to www.opioidanalgesicrems.com.FDA Blueprint can be found at www.fda.gov/OpioidAnalgesicREMSBlueprint

    5.6 Ultra-Rapid Metabolism of Tramadol and Other Risk Factors for Life-threatening Respiratory Depression in Children

    Life-threatening respiratory depression and death have occurred in children who received tramadol. Tramadol and codeine are subject to variability in metabolism based upon CYP2D6 genotype (described below), which can lead to increased exposure to an active metabolite. Based upon postmarketing reports with tramadol or with codeine, children younger than 12 years of age may be more susceptible to the respiratory depressant effects of tramadol. Furthermore, children with obstructive sleep apnea who are treated with opioids for post-tonsillectomy and/or adenoidectomy pain may be particularly sensitive to their respiratory depressant effect. Because of the risk of life-threatening respiratory depression and death:

    • Tramadol hydrochloride tablets are contraindicated for all children younger than 12 years of age [see Contraindications (4)].
    • Tramadol hydrochloride tablets are contraindicated for postoperative management in pediatric patients younger than 18 years of age following tonsillectomy and/or adenoidectomy [see Contraindications (4)].
    • Avoid the use of tramadol hydrochloride tablets in adolescents 12 to 18 years of age who have other risk factors that may increase their sensitivity to the respiratory depressant effects of tramadol unless the benefits outweigh the risks. Risk factors include conditions associated with hypoventilation such as postoperative status, obstructive sleep apnea, obesity, severe pulmonary disease, neuromuscular disease, and concomitant use of other medications that cause respiratory depression.
    • As with adults, when prescribing opioids for adolescents, healthcare providers should choose the lowest effective dose for the shortest period of time and inform patients and caregivers about these risks and the signs of opioid overdose [see Use in Specific Populations (8.4), Overdosage (10)].

    Nursing Mothers

    Tramadol is subject to the same polymorphic metabolism as codeine, with ultra-rapid metabolizers of CYP2D6 substrates being potentially exposed to life-threatening levels of the active metabolite O-desmethyltramadol (M1). At least one death was reported in a nursing infant who was exposed to high levels of morphine in breast milk because the mother was an ultra-rapid metabolizer of codeine. A baby nursing from an ultra-rapid metabolizer mother taking tramadol hydrochloride tablets could potentially be exposed to high levels of M1, and experience life-threatening respiratory depression. For this reason, breastfeeding is not recommended during treatment with tramadol hydrochloride tablets [see Use in Specific Populations (8.2)] .

    CYP2D6 Genetic Variability: Ultra-rapid Metabolizer

    Some individuals may be ultra-rapid metabolizers because of a specific CYP2D6 genotype (e.g., gene duplications denoted as *1/*1xN or *1/*2xN). The prevalence of this CYP2D6 phenotype varies widely and has been estimated at 1 to 10% for Whites (European, North American), 3 to 4% for Blacks (African Americans), 1 to 2% for East Asians (Chinese, Japanese, Korean), and may be greater than 10% in certain racial/ethnic groups (i.e., Oceanian, Northern African, Middle Eastern, Ashkenazi Jews, Puerto Rican). These individuals convert tramadol into its active metabolite, O-desmethyltramadol (M1), more rapidly and completely than other people. This rapid conversion results in higher than expected serum M1 levels. Even at labeled dosage regimens, individuals who are ultra-rapid metabolizers may have life-threatening or fatal respiratory depression or experience signs of overdose (such as extreme sleepiness, confusion, or shallow breathing) [see Overdosage (10)] .  Therefore, individuals who are ultra-rapid metabolizers should not use tramadol hydrochloride tablets.

    5.7 Risks of Interactions with Drugs Affecting Cytochrome P450 Isoenzymes

    The effects of concomitant use or discontinuation of cytochrome P450 3A4 inducers, 3A4 inhibitors, or 2D6 inhibitors on levels of tramadol and M1 from tramadol hydrochloride tablets are complex. Use of cytochrome P450 3A4 inducers, 3A4 inhibitors, or 2D6 inhibitors with tramadol hydrochloride tablets requires careful consideration of the effects on the parent drug, tramadol which is a weak serotonin and norepinephrine reuptake inhibitor and μ- opioid agonist, and the active metabolite, M1, which is more potent than tramadol in μ-opioid receptor binding [see Drug Interactions (7)] .

    Risks of Concomitant Use or Discontinuation of Cytochrome P450 2D6 Inhibitors

    The concomitant use of tramadol hydrochloride tablets with all cytochrome P450 2D6 inhibitors (e.g., amiodarone, quinidine) may result in an increase in tramadol plasma levels and a decrease in the levels of the active metabolite, M1. A decrease in M1 exposure in patients who have developed physical dependence to tramadol, may result in signs and symptoms of opioid withdrawal and reduced efficacy. The effect of increased tramadol levels may be an increased risk for serious adverse events including seizures and serotonin syndrome.

    Discontinuation of a concomitantly used cytochrome P450 2D6 inhibitor may result in a decrease in tramadol plasma levels and an increase in active metabolite M1 levels, which could increase or prolong adverse reactions related to opioid toxicity and may cause potentially fatal respiratory depression.

    Follow patients receiving tramadol hydrochloride tablets and any CYP2D6 inhibitor for the risk of serious adverse events including seizures and serotonin syndrome, signs and symptoms that may reflect opioid toxicity, and opioid withdrawal when tramadol hydrochloride tablets is used in conjunction with inhibitors of CYP2D6 [see Drug Interactions (7)] .

    Cytochrome P450 3A4 Interaction

    The concomitant use of tramadol hydrochloride tablets with cytochrome P450 3A4 inhibitors, such as macrolide antibiotics (e.g., erythromycin), azole-antifungal agents (e.g., ketoconazole), and protease inhibitors (e.g., ritonavir) or discontinuation of a cytochrome P450 3A4 inducer such as rifampin, carbamazepine, and phenytoin, may result in an increase in tramadol plasma concentrations, which could increase or prolong adverse reactions, increase the risk for serious adverse events including seizures and serotonin syndrome, and may cause potentially fatal respiratory depression.

    The concomitant use of tramadol hydrochloride tablets with all cytochrome P450 3A4 inducers or discontinuation of a cytochrome P450 3A4 inhibitor may result in lower tramadol levels. This may be associated with a decrease in efficacy, and in some patients, may result in signs and symptoms of opioid withdrawal.

    Follow patients receiving tramadol hydrochloride tablets and any CYP3A4 inhibitor or inducer for the risk for serious adverse events including seizures and serotonin syndrome, signs and symptoms that may reflect opioid toxicity and opioid withdrawal when tramadol hydrochloride tablets are used in conjunction with inhibitors and inducers of CYP3A4 [see Drug Interactions (7)] .

    5.8 Opioid-Induced Hyperalgesia and Allodynia

    Opioid-Induced Hyperalgesia (OIH) occurs when an opioid analgesic paradoxically causes anincrease in pain, or an increase in sensitivity to pain. This condition differs from tolerance, which is the need for increasing doses of opioids to maintain a defined effect [see Dependence (9.3)]. Symptoms of OIH include (but may not be limited to) increased levels of pain upon opioid dosage increase, decreased levels of pain upon opioid dosage decrease, or pain from ordinarily non-painful stimuli (allodynia). These symptoms may suggest OIH only if there is no evidence of underlying disease progression, opioid tolerance, opioid withdrawal, or addictive behavior.

    Cases of OIH have been reported, both with short-term and longer-term use of opioid analgesics. Though the mechanism of OIH is not fully understood, multiple biochemical pathways have been implicated. Medical literature suggests a strong biologic plausibility between opioid analgesics and OIH and allodynia. If a patient is suspected to be experiencing OIH, carefully consider appropriately decreasing the dose of the current opioid analgesic or opioid rotation. (safely switching the patient to a different opioid moiety) [see Dosage and Administration (2.5); Warnings and Precautions (5.18)].

    5.9 Serotonin Syndrome Risk

    Cases of serotonin syndrome, a potentially life-threatening condition, have been reported with the use of tramadol, particularly during concomitant use with serotonergic drugs. Serotonergic drugs include selective serotonin reuptake inhibitors (SSRIs), serotonin and norepinephrine reuptake inhibitors (SNRIs), tricyclic antidepressants (TCAs), triptans, 5HT3 receptor antagonists, drugs that affect the serotonergic neurotransmitter system (e.g., mirtazapine, trazodone, tramadol), certain muscle relaxants (i.e., cyclobenzaprine, metaxalone), and drugs that impair metabolism of serotonin (including MAO inhibitors, both those intended to treat psychiatric disorders and also others, such as linezolid and intravenous methylene blue) [see Drug Interactions (7)] . This may occur within the recommended dosage range.

    Serotonin syndrome symptoms may include mental status changes (e.g., agitation, hallucinations, coma), autonomic instability (e.g., tachycardia, labile blood pressure, hyperthermia), neuromuscular aberrations (e.g., hyperreflexia, incoordination, rigidity), and/or gastrointestinal symptoms (e.g., nausea, vomiting, diarrhea). The onset of symptoms generally occurs within several hours to a few days of concomitant use, but may occur later than that. Discontinue tramadol hydrochloride tablets if serotonin syndrome is suspected.

    5.10 Increased Risk of Seizure

    Seizures have been reported in patients receiving tramadol hydrochloride tablets within the recommended dosage range. Spontaneous post-marketing reports indicate that seizure risk is increased with doses of tramadol hydrochloride tablets above the recommended range.

    Concomitant use of tramadol hydrochloride tablets increases the seizure risk in patients taking [see Drug Interactions (7)] :

    • Selective serotonin re-uptake inhibitors (SSRI antidepressants or anorectics),
    • Tricyclic antidepressants (TCAs), and other tricyclic compounds (e.g., cyclobenzaprine, promethazine, etc.),
    • Other opioids,
    • MAO inhibitors [see Warnings and Precautions (5.8); Drug Interactions (7)].
    • Neuroleptics, or
    • Other drugs that reduce the seizure threshold.

    Risk of seizure may also increase in patients with epilepsy, those with a history of seizures, or in patients with a recognized risk for seizure (such as head trauma, metabolic disorders, alcohol and drug withdrawal, CNS infections). In tramadol hydrochloride tablets overdose, naloxone administration of an opioid overdose reversal agent (e.g., naloxone or nalmefene) may increase the risk of seizure.

    5.11 Suicide Risk

    • Do not prescribe tramadol hydrochloride tablets for patients who are suicidal or addiction-prone. Consideration should be given to the use of non-narcotic analgesics in patients who are suicidal or depressed [see Drug Abuse and Dependence (9)].
    • Prescribe tramadol hydrochloride tablets with caution for patients with a history of misuse and/or are currently taking CNS-active drugs including tranquilizers or antidepressant drugs, alcohol in excess, and patients who suffer from emotional disturbance or depression [see Drug Interactions (7)].

    5.12 Life-Threatening Respiratory Depression in Patients with Chronic Pulmonary Disease or in Elderly, Cachectic, or Debilitated Patients

    The use of tramadol hydrochloride tablets in patients with acute or severe bronchial asthma in an unmonitored setting or in the absence of resuscitative equipment is contraindicated.

    Patients with Chronic Pulmonary Disease:

    Tramadol hydrochloride tablets treated patients with significant chronic obstructive pulmonary disease or cor pulmonale, and those with a substantially decreased respiratory reserve, hypoxia, hypercapnia, or pre-existing respiratory depression are at increased risk of decreased respiratory drive including apnea, even at recommended dosages of tramadol hydrochloride tablets [see Warnings and Precautions (5.3)].

    Elderly, Cachectic, or Debilitated Patients:

    Life-threatening respiratory depression is more likely to occur in elderly, cachectic, or debilitated patients because they may have altered pharmacokinetics or altered clearance compared to younger, healthier patients [see Warnings and Precautions (5.3)] .

    Regularly evaluate patients, particularly when initiating and titrating tramadol hydrochloride tablets and when tramadol hydrochloride tablets are given concomitantly with other drugs that depress respiration [see Warnings and Precautions (5.7); Drug Interactions (7)] . Alternatively, consider the use of non-opioid analgesics in these patients.

    5.13 Adrenal Insufficiency

    Cases of adrenal insufficiency have been reported with opioid use, more often following greater than one month of use. Presentation of adrenal insufficiency may include non-specific symptoms and signs including nausea, vomiting, anorexia, fatigue, weakness, dizziness, and low blood pressure. If adrenal insufficiency is suspected, confirm the diagnosis with diagnostic testing as soon as possible. If adrenal insufficiency is diagnosed, treat with physiologic replacement doses of corticosteroids. Wean the patient off of the opioid to allow adrenal function to recover and continue corticosteroid treatment until adrenal function recovers. Other opioids may be tried as some cases reported use of a different opioid without recurrence of adrenal insufficiency. The information available does not identify any particular opioids as being more likely to be associated with adrenal insufficiency.

    5.14 Severe Hypotension

    Tramadol hydrochloride tablets may cause severe hypotension including orthostatic hypotension and syncope in ambulatory patients. There is increased risk in patients whose ability to maintain blood pressure has already been compromised by a reduced blood volume or concurrent administration of certain CNS depressant drugs (e.g. phenothiazines or general anesthetics) [see Drug Interactions (7)] . Regularly evaluate these patients for signs of hypotension after initiating or titrating the dosage of tramadol hydrochloride tablets. In patients with circulatory shock, tramadol hydrochloride tablets may cause vasodilation that can further reduce cardiac output and blood pressure. Avoid the use of tramadol hydrochloride tablets in patients with circulatory shock.

    5.15 Risks of use in Patients with Increased Intracranial Pressure, Brain Tumors, Head Injury, or Impaired Consciousness

    In patients who may be susceptible to the intracranial effects of CO 2retention (e.g., those with evidence of increased intracranial pressure or brain tumors), tramadol hydrochloride tablets may reduce respiratory drive, and the resultant CO 2retention can further increase intracranial pressure. Monitor such patients for signs of sedation and respiratory depression, particularly when initiating therapy with tramadol hydrochloride tablets.

    Opioids may also obscure the clinical course in a patient with a head injury. Avoid the use of tramadol hydrochloride tablets in patients with impaired consciousness or coma.

    5.16 Risks of Gastrointestinal Complications

    Tramadol hydrochloride tablets are contraindicated in patients with known or suspected gastrointestinal obstruction, including paralytic ileus [see Contraindications (4)].

    The tramadol in tramadol hydrochloride tablets may cause spasm of the sphincter of Oddi. Opioids may cause increases in serum amylase. Regularly evaluate patients with biliary tract disease, including pancreatitis, for worsening symptoms.

    Cases of opioid-induced esophageal dysfunction (OIED) have been reported in patients taking opioids. The risk of OIED may increase as the dose and/or duration of opioids increases. Regularly evaluate patients for signs and symptoms of OIED (e.g., dysphagia, regurgitation, non-cardiac chest pain), and, if necessary, adjust opioid therapy as clinically appropriate [see Clinical Pharmacology (12.2)].

    5.17 Anaphylaxis and Other Hypersensitivity Reactions

    Serious and rarely fatal anaphylactic reactions have been reported in patients receiving therapy with tramadol hydrochloride tablets. When these events do occur it is often following the first dose. Other reported allergic reactions include pruritus, hives, bronchospasm, angioedema, toxic epidermal necrolysis and Stevens-Johnson syndrome. Patients with a history of hypersensitivity reactions to tramadol and other opioids may be at increased risk and therefore should not receive tramadol hydrochloride tablets [see Contraindications (4)] . If anaphylaxis or other hypersensitivity occurs, stop administration of tramadol hydrochloride tablets immediately, discontinue tramadol hydrochloride tablets permanently, and do not rechallenge with any formulation of tramadol. Advise patients to seek immediate medical attention if they experience any symptoms of a hypersensitivity reaction. [see Contraindications (4), Patient Counselling Information (17)] .

    5.18 Withdrawal

    Do not rapidly reduce or abruptly discontinue tramadol hydrochloride tablets in a patient physically dependent on opioids. When discontinuing tramadol hydrochloride tablets in a physically dependent patient, gradually taper the dosage. Rapid tapering of tramadol in a patient physically dependent on opioids may lead to a withdrawal syndrome and return of pain  [see Dosage and Administration (2.5), Drug Abuse and Dependence (9.3)].

    Additionally, avoid the use of mixed agonist/antagonist (e.g, pentazocine, nalbuphine, and butorphanol) or partial agonist (e.g., buprenorphine) analgesics in patients who are receiving a full opioid agonist analgesic, including tramadol hydrochloride tablets. In these patients, mixed agonist/antagonist and partial agonist analgesics may reduce the analgesic effect and/or precipitate withdrawal symptoms [see Drug Interactions (7)] .

    5.19 Risks of Driving and Operating Machinery

    Tramadol hydrochloride tablets may impair the mental or physical abilities needed to perform potentially hazardous activities such as driving a car or operating machinery. Warn patients not to drive or operate dangerous machinery unless they are tolerant to the effects of tramadol hydrochloride tablets and know how they will react to the medication [see Patient Counselling Information (17)] .

    5.20 Hyponatremia

    Hyponatremia (serum sodium < 135 mmol/L) has been reported with the use of tramadol, and many cases are severe (sodium level < 120 mmol/L). Most cases of hyponatremia occurred in females over the age of 65 and within the first week of therapy. In some reports, hyponatremia resulted from the syndrome of inappropriate antidiuretic hormone secretion (SIADH). Monitor for signs and symptoms of hyponatremia (e.g., confusion, disorientation), during treatment with tramadol hydrochloride tablets, especially during initiation of therapy. If signs and symptoms of hyponatremia are present, initiate appropriate treatment (e.g., fluid restriction) and discontinue tramadol hydrochloride tablets [see Dosage and Administration: Safe Reduction or Discontinuation of tramadol hydrochloride tablets ( 2.5)].

    5.21 Hypoglycemia

    Cases of tramadol-associated hypoglycemia have been reported, some resulting in hospitalization. In most cases, patients had predisposing risk factors (e.g. diabetes). If hypoglycemia is suspected, monitor blood glucose levels and consider drug discontinuation as appropriate [see Dosage and Administration: Safe Reduction or Discontinuation of tramadol hydrochloride tablets ( 2.5)].

  • 6 ADVERSE REACTIONS

    The following serious adverse reactions are described, or described in greater detail, in other sections:

    6.1 Clinical Trials Experience

    Because clinical trials are conducted under widely varying conditions, adverse reaction rates observed in the clinical trials of a drug cannot be directly compared to rates in the clinical trials of another drug and may not reflect the rates observed in practice.

    Tramadol hydrochloride tablets were administered to 550 patients during the double-blind or open-label extension periods in U.S. studies of chronic nonmalignant pain. Of these patients, 375 were 65 years old or older. Table 1 reports the cumulative incidence rate of adverse reactions by 7, 30 and 90 days for the most frequent reactions (5% or more by 7 days). The most frequently reported events were in the central nervous system and gastrointestinal system. Although the reactions listed in the table are felt to be probably related to tramadol hydrochloride tablets administration, the reported rates also include some events that may have been due to underlying disease or concomitant medication. The overall incidence rates of adverse experiences in these trials were similar for tramadol hydrochloride tablets and the active control groups, TYLENOL with Codeine #3 (acetaminophen 300 mg with codeine phosphate 30 mg), and aspirin 325 mg with codeine phosphate 30 mg, however, the rates of withdrawals due to adverse events appeared to be higher in the tramadol hydrochloride tablets groups.

    Table 1: Cumulative Incidence of Adverse Reactions for Tramadol Hydrochloride tablets in Chronic Trials of Nonmalignant Pain (N=427)

    1"CNS Stimulation" is a composite of nervousness, anxiety, agitation, tremor, spasticity, euphoria, emotional lability and hallucinations

    Up to 7 DaysUp to 30 DaysUp to 90 Days
    Dizziness/Vertigo26%31%33%
    Nausea24%34%40%
    Constipation24%38%46%
    Headache18%26%32%
    Somnolence16%23%25%
    Vomiting9%13%17%
    Pruritus8%10%11%
    "CNS Stimulation" 17%11%14%
    Asthenia6%11%12%
    Sweating6%7%9%
    Dyspepsia5%9%13%
    Dry Mouth5%9%10%
    Diarrhea5%6%10%

    Incidence 1% to Less than 5% Possibly Causally Related

    The following lists adverse reactions that occurred with an incidence of 1% to less than 5% in clinical trials, and for which the possibility of a causal relationship with tramadol hydrochloride tablets exists.

    Body as a Whole:Malaise.

    Cardiovascular:Vasodilation.

    Central Nervous System:Anxiety, Confusion, Coordination disturbance, Euphoria, Miosis, Nervousness, Sleep disorder.

    Gastrointestinal:Abdominal pain, Anorexia, Flatulence.

    Musculoskeletal:Hypertonia.

    Skin:Rash.

    Special Senses:Visual disturbance.

    Urogenital:Menopausal symptoms, Urinary frequency, Urinary retention.

    Incidence Less than 1%, Possibly Causally Related

    The following lists adverse reactions that occurred with an incidence of less than 1% in clinical trials of tramadol and/or reported in postmarketing experience with tramadol-containing products.

    Body as a Whole:Accidental injury, Allergic reaction, Anaphylaxis, Death, Suicidal tendency, Weight loss, Serotonin syndrome (mental status change, hyperreflexia, fever, shivering, tremor, agitation, diaphoresis, seizures and coma).

    Cardiovascular:Orthostatic hypotension, Syncope, Tachycardia.

    Central Nervous System:Abnormal gait, Amnesia, Cognitive dysfunction, Depression, Difficulty in concentration, Hallucinations, Paresthesia, Seizure, Tremor.

    Respiratory:Dyspnea.

    Skin:Stevens-Johnson syndrome/Toxic epidermal necrolysis, Urticaria, Vesicles.

    Special Senses:Dysgeusia.

    Urogenital: Dysuria, Menstrual disorder.

    Other Adverse Experiences, Causal Relationship Unknown

    A variety of other adverse events were reported infrequently in patients taking tramadol hydrochloride tablets during clinical trials and/or reported in post-marketing experience. A causal relationship between tramadol hydrochloride tablets and these events has not been determined. However, the most significant events are listed below as alerting information to the physician.

    Cardiovascular:Abnormal ECG, Hypertension, Hypotension, Myocardial ischemia, Palpitations, Pulmonary edema, Pulmonary embolism.

    Central Nervous System:Migraine.

    Gastrointestinal:Gastrointestinal bleeding, Hepatitis, Stomatitis, Liver failure.

    Laboratory Abnormalities:Creatinine increase, Elevated liver enzymes, Hemoglobin decrease, Proteinuria.

    Sensory:Cataracts, Deafness, Tinnitus.

    6.2 Postmarketing Experience

    The following adverse reactions have been identified during post-approval use of tramadol hydrochloride tablets. Because these reactions are reported voluntarily from a population of uncertain size, it is not always possible to reliably estimate their frequency or establish a causal relationship to drug exposure.

    Serotonin syndrome:Cases of serotonin syndrome, a potentially life-threatening condition, have been reported during concomitant use of opioids with serotonergic drugs.

    Adrenal insufficiency: Cases of adrenal insufficiency have been reported with opioid use, more often following greater than one month of use.

    Androgen deficiency: Cases of androgen deficiency have occurred with use of opioids for an extended period of time. [see Clinical Pharmacology (12.2)] .

    Hyperalgesia and Allodynia: cases of hyperalgesia and allodynia have been reported with opioid therapy of any duration [ see Warnings and Precautions (5.8)]

    QT prolongation/torsade de pointes: Cases of QT prolongation and/or torsade de pointeshave been reported with tramadol use. Many of these cases were reported in patients taking another drug labeled for QT prolongation, in patients with a risk factor for QT prolongation (e.g., hypokalemia), or in the overdose setting.

    Eye disorders– mydriasis

    Metabolism and nutrition disorders– Hyponatremia: Cases of severe hyponatremia and/or SIADH have been reported in patients taking tramadol, most often in females over the age of 65, and within the first week of therapy [see Warnings and Precautions (5.19)] .

    Hypoglycemia: Cases of hypoglycemia have been reported in patients taking tramadol. Most reports were in patients with predisposing risk factors, including diabetes or renal insufficiency,

    or in elderly patients [see Warnings and Precautions (5.20)]

    Nervous system disorders– movement disorder, speech disorder

    Psychiatric disorders– delirium

    Opioid-induced esophageal dysfunction (OIED): Cases of OIED have been reported in patients taking opioids, and may occur more frequently in patients taking higher doses of opioids, and/or in patients taking opioids longer term [see Warnings and Precautions (5.16)] .

    Adverse Reactions from Observational Studies

    A prospective, observational cohort study estimated the risks of addiction, abuse, and misuse in patients initiating long-term use of Schedule II opioid analgesics between 2017 and 2021. Study participants included in one or more analyses had been enrolled in selected insurance plans or health systems for at least one year, were free of at least one outcome at baseline, completed a minimum number of follow-up assessments, and either: 1) filled multiple extended-release/long-acting opioid analgesic prescriptions during a 90 day period (n=978); or 2) filled any Schedule II opioid analgesic prescriptions covering at least 70 of 90 days (n=1,244). Those included also had no dispensing of the qualifying opioids in the previous 6 months.

    Over 12 months:

    • approximately 1% to 6% of participants across the two cohorts newly met criteria for addiction, as assessed with two validated interviewbased measures of moderate-to-severe opioid use disorder based on Diagnostic and Statistical Manual of Mental Disorders, Fifth Edition (DSM-5) criteria, and
    • approximately 9% and 22% of participants across the two cohorts newly met criteria for prescription opioid abuse and misuse [defined in Drug Abuse and Dependence (9.2)], respectively, as measured with a validated self-reported instrument.

    A retrospective, observational cohort study estimated the risk of opioid involved overdose or opioid overdose-related death in patients with new long-term use of Schedule II opioid analgesics from 2006 through 2016 (n=220,249). Included patients had been enrolled in either one of two commercial insurance programs, one managed care program, or one Medicaid program for at least 9 months. New long-term use was defined as having Schedule II opioid analgesic prescriptions covering at least 70 days’ supply over the 3 months prior to study entry and none during the preceding 6 months. Patients were excluded if they had an opioid-involved overdose in the 9 months prior to study entry. Overdose was measured using a validated medical code-based algorithm with linkage to the National Death Index database. The 5-year cumulative incidence estimates for opioid-involved overdose or opioid overdose-related death ranged from approximately 1.5% to 4% across study sites, counting only the first event during follow-up. Approximately 17% of first opioid overdoses observed over the entire study period (5-11 years, depending on the study site) were fatal. Higher baseline opioid dose was the strongest and most consistent predictor of opioid-involved overdose or opioid overdose-related death. Study exclusion criteria may have selected patients at lower risk of overdose, and substantial loss to follow-up (approximately 80%) also may have biased estimates.

    The risk estimates from the studies described above may not be generalizable to all patients receiving opioid analgesics, such as those with exposures shorter or longer than the duration evaluated in the studies.

  • 7 DRUG INTERACTIONS

    Table 2: Clinically Significant Drug Interactions with tramadol hydrochloride tablets
    Inhibitors of CYP2D6
    Clinical Impact:The concomitant use of tramadol hydrochloride tablets and CYP2D6 inhibitors may result in an increase in the plasma concentration of tramadol and a decrease in the plasma concentration of M1, particularly when an inhibitor is added after a stable dose of tramadol hydrochloride tablets is achieved. Since M1 is a more potent μ-opioid agonist, decreased M1 exposure could result in decreased therapeutic effects, and may result in signs and symptoms of opioid withdrawal in patients who had developed physical dependence to tramadol. Increased tramadol exposure can result in increased or prolonged therapeutic effects and increased risk for serious adverse events including seizures and serotonin syndrome. After stopping a CYP2D6 inhibitor, as the effects of the inhibitor decline, the tramadol plasma concentration will decrease and the M1 plasma concentration will increase. This could increase or prolong therapeutic effects but also increase adverse reactions related to opioid toxicity, such as potentially fatal respiratory depression [see Clinical Pharmacology (12.3)] .
    Intervention:If concomitant use of a CYP2D6 inhibitor is necessary, follow patients closely for adverse reactions including opioid withdrawal, seizures and serotonin syndrome.
    If a CYP2D6 inhibitor is discontinued, consider lowering tramadol hydrochloride tablets dosage until stable drug effects are achieved. Follow patients closely for adverse events including respiratory depression and sedation.
    ExamplesQuinidine, fluoxetine, paroxetine and bupropion
    Inhibitors of CYP3A4
    Clinical Impact:The concomitant use of tramadol hydrochloride tablets and CYP3A4 inhibitors can increase the plasma concentration of tramadol and may result in a greater amount of metabolism via CYP2D6 and greater levels of M1. Follow patients closely for increased risk of serious adverse events including seizures and serotonin syndrome, and adverse reactions related to opioid toxicity including potentially fatal respiratory depression, particularly when an inhibitor is added after a stable dose of tramadol hydrochloride tablets is achieved. After stopping a CYP3A4 inhibitor, as the effects of the inhibitor decline, the tramadol plasma concentration will decrease [see Clinical Pharmacology (12.3)] , resulting in decreased opioid efficacy or a withdrawal syndrome in patients who had developed physical dependence to tramadol.
    Intervention:If concomitant use is necessary, consider dosage reduction of tramadol hydrochloride tablets until stable drug effects are achieved. Follow patients closely for seizures, serotonin syndrome, and signs of respiratory depression and sedation at frequent intervals.
    If a CYP3A4 inhibitor is discontinued, consider increasing the tramadol hydrochloride tablets dosage until stable drug effects are achieved and follow patients for signs and symptoms of opioid withdrawal.
    ExamplesMacrolide antibiotics (e.g., erythromycin), azole-antifungal agents (e.g. ketoconazole), protease inhibitors (e.g., ritonavir)
    CYP3A4 Inducers
    Clinical Impact:The concomitant use of tramadol hydrochloride tablets and CYP3A4 inducers can decrease the plasma concentration of tramadol [see Clinical Pharmacology (12.3)] , resulting in decreased efficacy or onset of a withdrawal syndrome in patients who have developed physical dependence to tramadol.
    After stopping a CYP3A4 inducer, as the effects of the inducer decline, the tramadol plasma concentration will increase [see Clinical Pharmacology (12.3)] , which could increase or prolong both the therapeutic effects and adverse reactions, and may cause seizures, serotonin syndrome, and/or potentially fatal respiratory depression.
    Intervention:If concomitant use is necessary, consider increasing the tramadol hydrochloride tablets dosage until stable drug effects are achieved. Assess patients for signs of opioid withdrawal. If a CYP3A4 inducer is discontinued, consider tramadol hydrochloride tablets dosage reduction and evaluate patients at frequent intervals for signs of respiratory depression and sedation.
    Patients taking carbamazepine, a CYP3A4 inducer, may have a significantly reduced analgesic effect of tramadol. Because carbamazepine increases tramadol metabolism and because of the seizure risk associated with tramadol, concomitant administration of tramadol hydrochloride tablets and carbamazepine is not recommended.
    ExamplesRifampin, carbamazepine, phenytoin
    Benzodiazepines and Other Central Nervous System (CNS) Depressants
    Clinical Impact:Due to additive pharmacologic effect, the concomitant use of benzodiazepines or other CNS depressants, including alcohol, increases the risk of respiratory depression, profound sedation, coma, and death.
    Intervention:Reserve concomitant prescribing of these drugs for use in patients for whom alternative treatment options are inadequate. Limit dosages and durations to the minimum required. Follow patients closely for signs of respiratory depression and sedation [see Warnings and Precautions (5.7)] . If concomitant use is warranted, consider recommending or prescribing an opioid overdose reversal agent [see Dosage and Administration (2.2), Warnings and Precautions ( 5.1, 5.3, 5.7)]
    Examples:Benzodiazepines and other sedatives/hypnotics, anxiolytics, tranquilizers, muscle relaxants, general anesthetics, antipsychotics, gabapentinoids, (gabapentin or pregabalin), other opioids, and alcohol.
    Serotonergic Drugs
    Clinical Impact:The concomitant use of opioids with other drugs that affect the serotonergic neurotransmitter system has resulted in serotonin syndrome.
    Intervention:If concomitant use is warranted, carefully observe the patient, particularly during treatment initiation and dose adjustment. Discontinue tramadol hydrochloride tablets immediately if serotonin syndrome is suspected.
    Examples:Selective serotonin reuptake inhibitors (SSRIs), serotonin and norepinephrine reuptake inhibitors (SNRIs), tricyclic antidepressants (TCAs), triptans, 5-HT3 receptor antagonists, drugs that affect the serotonin neurotransmitter system (e.g., mirtazapine, trazodone, tramadol), certain muscle relaxants (i.e. cyclobenzaprine, metaxalone), monoamine oxidase (MAO) inhibitors (those intended to treat psychiatric disorders and also others, such as linezolid and intravenous methylene blue).
    Monoamine Oxidase Inhibitors (MAOIs)
    Clinical Impact:MAOI interactions with opioids may manifest as serotonin syndrome [see Warnings and Precautions (5.9)] or opioid toxicity (e.g., respiratory depression, coma) [see Warnings and Precautions (5.3)].
    Intervention:Do not use tramadol hydrochloride tablets in patients taking MAOIs or within 14 days of stopping such treatment.
    Examples:phenelzine, tranylcypromine, linezolid
    Mixed Agonist/Antagonist and Partial Agonist Opioid Analgesics
    Clinical Impact:May reduce the analgesic effect of tramadol hydrochloride tablets and/or precipitate withdrawal symptoms.
    Intervention:Avoid concomitant use.
    Examples:butorphanol, nalbuphine, pentazocine, buprenorphine
    Muscle Relaxants
    Clinical Impact:Tramadol may enhance the neuromuscular blocking action of skeletal muscle relaxants and produce an increased degree of respiratory depression.
    Intervention:Because respiratory depression that may be greater than otherwise expected decrease the dosage of tramadol hydrochloride tablets and/or the muscle relaxant as necessary. Due to the risk of respiratory depression with concomitant use of skeletal muscle relaxants and opioids, consider recommending or prescribing an opioid overdose reversal agent   [see Dosage and Administration (2.2), Warnings and Precautions ( 5.3, 5.7)] .
    Examples:Cyclobenzaprine, metaxalone.
    Diuretics
    Clinical Impact:Opioids can reduce the efficacy of diuretics by inducing the release of antidiuretic hormone.
    Intervention:Evaluate patients for signs of diminished diuresis and/or effects on blood pressure and increase the dosage of the diuretic as needed.
    Anticholinergic Drugs
    Clinical Impact:The concomitant use of anticholinergic drugs may increase risk of urinary retention and/or severe constipation, which may lead to paralytic ileus.
    Intervention:Evaluate patients for signs of urinary retention or reduced gastric motility when tramadol hydrochloride tablets is used concomitantly with anticholinergic drugs.
    Digoxin
    Clinical Impact:Post-marketing surveillance of tramadol has revealed rare reports of digoxin toxicity.
    Intervention:Follow patients for signs of digoxin toxicity and adjust dosage of digoxin as needed.
    Warfarin
    Clinical Impact:Post-marketing surveillance of tramadol has revealed rare reports of alteration of warfarin effect, including elevation of prothrombin times.
    Intervention:Monitor the prothrombin time of patients on warfarin for signs of an interaction and adjust the dosage of warfarin as needed.
  • 8 USE IN SPECIFIC POPULATIONS

    8.1 Pregnancy

    Risk Summary

    Use of opioid analgesics for an extended period of time during pregnancy may cause neonatal opioid withdrawal syndrome.

    Available data with tramadol hydrochloride tablets in pregnant women are insufficient to inform a drug-associated risk for major birth defects and miscarriage.

    In animal reproduction studies, tramadol administration during organogenesis decreased fetal weights and reduced ossification in mice, rats, and rabbits at 1.4, 0.6, and 3.6 times the maximum recommended human daily dosage (MRHD). Tramadol decreased pup body weight and increased pup mortality at 1.2 and 1.9 times the MRHD [see Data]. Based on animal data, advise pregnant women of the potential risk to a fetus.

    The estimated background risk of major birth defects and miscarriage for the indicated population is unknown. All pregnancies have a background risk of birth defect, loss, or other adverse outcomes. In the U.S. general population, the estimated background risk of major birth defects and miscarriage in clinically recognized pregnancies is 2-4% and 15-20%, respectively.

    Clinical Considerations

    Fetal/Neonatal Adverse Reactions

    Use of opioid analgesics for an extended period of time during pregnancy for medical or nonmedical purposes can result in respiratory depression and physical dependence in the neonate and neonatal opioid withdrawal syndrome shortly after birth.

    Neonatal opioid withdrawal syndrome can present as irritability, hyperactivity and abnormal sleep pattern, high pitched cry, tremor, vomiting, diarrhea and failure to gain weight. The onset, duration, and severity of neonatal opioid withdrawal syndrome vary based on the specific opioid used, duration of use, timing and amount of last maternal use, and rate of elimination of the drug by the newborn. Observe newborns for symptoms and signs of neonatal opioid withdrawal syndrome and manage accordingly [see Warnings and Precautions (5.5)] .

    Neonatal seizures, neonatal withdrawal syndrome, fetal death and still birth have been reported during post-marketing.

    Labor or Delivery

    Opioids cross the placenta and may produce respiratory depression and psycho-physiologic effects in neonates. An opioid overdose reversal agent, such as naloxone or nalmefene, must be available for reversal of opioid-induced respiratory depression in the neonate. Tramadol hydrochloride tablets are not recommended for use in pregnant women during or immediately prior to labor, when other analgesic techniques are more appropriate. Opioid analgesics, including tramadol hydrochloride tablets, can prolong labor through actions which temporarily reduce the strength, duration, and frequency of uterine contractions. However, this effect is not consistent and may be offset by an increased rate of cervical dilation, which tends to shorten labor. Monitor neonates exposed to opioid analgesics during labor for signs of excess sedation and respiratory depression.

    Tramadol has been shown to cross the placenta. The mean ratio of serum tramadol in the umbilical veins compared to maternal veins was 0.83 for 40 women given tramadol during labor.

    The effect of tramadol hydrochloride tablets, if any, on the later growth, development, and functional maturation of the child is unknown.

    Data

    Animal Data

    Tramadol has been shown to be embryotoxic and fetotoxic in mice, (120 mg/kg), rats (25 mg/kg) and rabbits (75 mg/kg) at maternally toxic dosages, but was not teratogenic at these dose levels. These doses on a mg/m 2basis are 1.4, 0.6, and 3.6 times the maximum recommended human daily dosage (MRHD) for mouse, rat and rabbit, respectively.

    No drug-related teratogenic effects were observed in progeny of mice (up to 140 mg/kg), rats (up to 80 mg/kg) or rabbits (up to 300 mg/kg) treated with tramadol by various routes. Embryo and fetal toxicity consisted primarily of decreased fetal weights, decreased skeletal ossification and increased supernumerary ribs at maternally toxic dose levels. Transient delays in developmental or behavioral parameters were also seen in pups from rat dams allowed to deliver. Embryo and fetal lethality were reported only in one rabbit study at 300 mg/kg, a dose that would cause extreme maternal toxicity in the rabbit. The dosages listed for mouse, rat and rabbit are 1.7, 1.9 and 14.6 times the MRHD, respectively.

    Tramadol was evaluated in pre-and post-natal studies in rats. Progeny of dams receiving oral (gavage) dose levels of 50 mg/kg 1.2 times the MRHD) or greater had decreased weights, and pup survival was decreased early in lactation at 80 mg/kg (1.9 times the MRHD).

    8.2 Lactation

    Risk Summary

    Tramadol hydrochloride tablets are not recommended for obstetrical preoperative medication or for post-delivery analgesia in nursing mothers because its safety in infants and newborns has not been studied.

    Tramadol and its metabolite, O-desmethyltramadol (M1), are present in human milk. There is no information on the effects of the drug on the breastfed infant or the effects of the drug on milk production. The M1 metabolite is more potent than tramadol in mu opioid receptor binding [see Clinical Pharmacology (12)] . Published studies have reported tramadol and M1 in colostrum with administration of tramadol to nursing mothers in the early post-partum period. Women who are ultra-rapid metabolizers of tramadol may have higher than expected serum levels of M1, potentially leading to higher levels of M1 in breast milk that can be dangerous in their breastfed infants. In women with normal tramadol metabolism, the amount of tramadol secreted into human milk is low and dose-dependent. Because of the potential for serious adverse reactions, including excess sedation and respiratory depression in a breastfed infant, advise patients that breastfeeding is not recommended during treatment with tramadol hydrochloride tablets [see Warnings and Precautions (5.4)] .

    Clinical Considerations

    If infants are exposed to tramadol hydrochloride through breast milk, they should be monitored for excess sedation and respiratory depression. Withdrawal symptoms can occur in breastfed infants when maternal administration of an opioid analgesic is stopped, or when breast-feeding is stopped.

    Data

    Following a single IV 100 mg dose of tramadol, the cumulative excretion in breast milk within 16 hours post dose was 100 mcg of tramadol (0.1% of the maternal dose) and 27 mcg of M1.

    8.3 Females and Males of Reproductive Potential

    Infertility

    Use of opioids for an extended period of time may cause reduced fertility in females and males of reproductive potential. It is not known whether these effects on fertility are reversible  [see Adverse Reactions (6.2)] .

    8.4 Pediatric Use

    The safety and effectiveness of tramadol hydrochloride tablets in pediatric patients have not been established.

    Life-threatening respiratory depression and death have occurred in children who received tramadol [see Warnings and Precautions (5.4)] . In some of the reported cases, these events followed tonsillectomy and/or adenoidectomy, and one of the children had evidence of being an ultra-rapid metabolizer of tramadol (i.e., multiple copies of the gene for cytochrome P450 isoenzyme 2D6). Children with sleep apnea may be particularly sensitive to the respiratory depressant effects of tramadol. Because of the risk of life-threatening respiratory depression and death:

    • Tramadol hydrochloride tablets are contraindicated for all children younger than 12 years of age [see Contraindications (4)] .
    • Tramadol hydrochloride tablets are contraindicated for post-operative management in pediatric patients younger than 18 years of age following tonsillectomy and/or adenoidectomy [see Contraindications (4)] .

    Avoid the use of tramadol hydrochloride tablets in adolescents 12 to 18 years of age who have other risk factors that may increase their sensitivity to the respiratory depressant effects of tramadol unless the benefits outweigh the risks. Risk factors include conditions associated with hypoventilation such as postoperative status, obstructive sleep apnea, obesity, severe pulmonary disease, neuromuscular disease, and concomitant use of other medications that cause respiratory depression.

    8.5 Geriatric Use

    A total of 455 elderly (65 years of age or older) subjects were exposed to tramadol hydrochloride tablets in controlled clinical trials. Of those, 145 subjects were 75 years of age and older.

    In studies including geriatric patients, treatment-limiting adverse events were higher in subjects over 75 years of age compared to those under 65 years of age. Specifically, 30% of those over 75 years of age had gastrointestinal treatment-limiting adverse events compared to 17% of those under 65 years of age. Constipation resulted in discontinuation of treatment in 10% of those over 75.

    Respiratory depression is the chief risk for elderly patients treated with opioids, and has occurred after large initial doses were administered to patients who were not opioid-tolerant or when opioids were co-administered with other agents that depress respiration. Titrate the dosage of tramadol hydrochloride tablets slowly in geriatric patients starting at the low end of the dosing range and frequently reevaluate the patient for signs of central nervous system and respiratory depression [see Warnings and Precautions (5.12)] .

    Tramadol is known to be substantially excreted by the kidney, and the risk of adverse reactions to this drug may be greater in patients with impaired renal function. Because elderly patients are more likely to have decreased renal function, care should be taken in dose selection, and it may be useful to to regularly evaluate renal function.

    8.6 Renal and Hepatic Impairment

    Impaired renal function results in a decreased rate and extent of excretion of tramadol and its active metabolite, M1. In patients with creatinine clearances of less than 30 mL/min, dosing reduction is recommended [see Dosage and Administration (2.3)] . Metabolism of tramadol and M1 is reduced in patients with severe hepatic impairment based on a study in patients with advanced cirrhosis of the liver. In patients with severe hepatic impairment, dosing reduction is recommended [see Dosage and Administration (2.3)] .

    With the prolonged half-life in these conditions, achievement of steady-state is delayed, so that it may take several days for elevated plasma concentrations to develop.

  • 9 DRUG ABUSE AND DEPENDENCE

    9.1 Controlled Substance

    Tramadol hydrochloride tablets contain tramadol, a Schedule IV controlled substance.

    9.2 Abuse

    Tramadol hydrochloride tablets contains tramadol, a substance with potential for misuse and abuse, which can lead to the development of substance use disorder, including addiction [see Warnings and Precautions (5.1)] .

    Misuse is the intentional use, for therapeutic purposes, of a drug by an individual in a way other than prescribed by a health care provider or for whom it was not prescribed.

    Abuse is the intentional, non-therapeutic use of a drug, even once, for its desirable psychological or physiological effects.

    Drug addiction is a cluster of behavioral, cognitive, and physiological phenomena that may include a strong desire to take the drug, difficulties in controlling drug use (e.g., continuing drug use despite harmful consequences, giving a higher priority to drug use than other activities and obligations), and possible tolerance or physical dependence.

    Misuse and abuse of Tramadol hydrochloride tablets increases risk of overdosage, which may lead to central nervous system and respiratory depression, hypotension, seizures, and death. The risk is increased with concurrent abuse of Tramadol hydrochloride tablets with alcohol and other central nervous system depressants. Abuse of and addiction to opioids in some individuals may not be accompanied by concurrent tolerance and symptoms of physical dependence. In addition, abuse of opioids can occur in the absence of addiction.

    All patients treated with opioids require careful and frequent re-evaluation for signs of misuse, abuse, and addiction, because use of opioid analgesic products carries the risk of addiction even under appropriate medical use. Patients at high risk of Tramadol hydrochloride tablets abuse include those with a history of prolonged use of products containing tramadol, those with a history of drug or alcohol abuse, or those who use Tramadol hydrochloride tablets in combination with other abused drugs.

    “Drug-seeking” behavior is very common in persons with substance use disorders. Drug-seeking tactics include emergency calls or visits near the end of office hours, refusal to undergo appropriate examination, testing, or referral, repeated “loss” of prescriptions, tampering with prescriptions, and reluctance to provide prior medical records or contact information for other treating healthcare provider(s). “Doctor shopping” (visiting multiple prescribers to obtain additional prescriptions) is common among people who abuse drugs and people with substance use disorder. Preoccupation with achieving adequate pain relief can be appropriate behavior in a patient with inadequate pain control.

    Tramadol hydrochloride tablets, like other opioids, can be diverted for non-medical use into illicit channels of distribution. Careful record-keeping of prescribing information, including quantity, frequency, and renewal requests, as required by state and federal law, is strongly advised.

    Proper assessment of the patient, proper prescribing practices, periodic reevaluation of therapy, and proper dispensing and storage are appropriate measures that help to limit abuse of opioid drugs.

    Risks Specific to Abuse of Tramadol hydrochloride tablets Abuse of Tramadol hydrochloride tablets poses a risk of overdose and death. The risk is increased with concurrent abuse of Tramadol hydrochloride tablets with alcohol and other central nervous system depressants.

    Tramadol hydrochloride tablets are  approved for oral use only. Parenteral drug abuse is commonly associated with transmission of infectious diseases such as hepatitis and HIV.

    9.3 Dependence

    Both tolerance and physical dependence can develop during use of opioid therapy.

    Tolerance is physiological state characterized by a reduced response to a drug after repeated administration (i.e., a higher dose of a drug is required to produce the same effect that was once obtained at a lower dose).

    Physical dependence is a state that develops as a result of a physiological adaptation in response to repeated drug use, manifested by withdrawal signs and symptoms after abrupt discontinuation or a significant dose reduction of a drug.

    Withdrawal may be precipitated through the administration of drugs with opioid antagonist activity (e.g., naloxone, nalmefene), mixed agonist/antagonist analgesics (e.g., pentazocine, butorphanol, nalbuphine), or partial agonists (e.g., buprenorphine). Physical dependence may not occur to a clinically significant degree until after several days to weeks of continued use.

    Do not rapidly reduce or abruptly discontinue tramadol hydrochloride tablets in a patient physically dependent on opioids. Rapid tapering of tramadol hydrochloride tablets in a patient physically dependent on opioids may lead to serious withdrawal symptoms, uncontrolled pain and suicide. Rapid discontinuation has also been associated with attempts to find other sources of opioid analgesics, which may be confused with drug-seeking for abuse.

    When discontinuing tramadol hydrochloride tablets, gradually taper the dosage using a patient-specific plan that considers the following: the dose of tramadol hydrochloride tablets the patient has been taking, the duration of treatment, and the physical and psychological attributes of the patient. To improve the likelihood of a successful taper and minimize withdrawal symptoms, it is important that the opioid tapering schedule is agreed upon by the patient. In patients taking opioids for a longer duration at high doses, ensure that a multimodal approach to pain management, including mental health support (if needed), is in place prior to initiating an opioid analgesic taper [see Dosage and Administration (2.5), and Warnings and Precautions (5.18)].

    Infants born to mothers physically dependent on opioids will also be physically dependent and may exhibit respiratory difficulties and withdrawal signs [see Use in Specific Populations (8.1)].

  • 10 OVERDOSAGE

    Clinical Presentation

    Acute overdosage with tramadol hydrochloride tablets can be manifested by respiratory depression, somnolence progressing to stupor or coma, skeletal muscle flaccidity, cold and clammy skin, constricted pupils, and, in some cases, pulmonary edema, bradycardia, QT prolongation, hypotension, partial or complete airway obstruction, atypical snoring, seizures, and death. Marked mydriasis rather than miosis may be seen with hypoxia in overdose situations. [see Clinical Pharmacology (12.2)] Toxic leukoencephalopathy has been reported after opioid overdose and can present hours, days, or weeks after apparent recovery from the initial intoxication.

    Deaths due to overdose have been reported with abuse and misuse of tramadol [see Warnings and Precautions (5.1); Drug Abuse and Dependence (9.2)] . Review of case reports has indicated that the risk of fatal overdose is further increased when tramadol is abused concurrently with alcohol or other CNS depressants, including other opioids.

    Treatment of Overdose

    In case of overdose, priorities are the re-establishment of a patent and protected airway and institution of assisted or controlled ventilation, if needed. Employ other supportive measures (including oxygen and vasopressors) in the management of circulatory shock and pulmonary edema as indicated. Cardiac arrest or serious arrhythmias will require advanced life-supporting measures. Because strategies for the management of overdose are continually evolving, it is advisable to contact a poison control center (where available) to determine the latest recommendations for the management of an overdose.

    For clinically significant respiratory or circulatory depression secondary to opioid overdose, administer an opioid overdose reversal agent such as naloxone or nalmefene.

    While an opioid overdose reversal agent will reverse some, but not all, symptoms caused by overdosage with tramadol, the risk of seizures is also increased with reversal agent administration. In animals, convulsions following the administration of toxic doses of tramadol hydrochloride tablets could be suppressed with barbiturates or benzodiazepines but were increased with naloxone. Naloxone administration did not change the lethality of an overdose in mice. Hemodialysis is not expected to be helpful in an overdose because it removes less than 7% of the administered dose in a 4-hour dialysis period.

    Because the duration of opioid reversal is expected to be less than the duration of action of tramadol in tramadol hydrochloride tablets, carefully monitor the patient until spontaneous respiration is reliably reestablished. If the response to an opioid overdose reversal agent is suboptimal or only brief in nature, administer additional reversal agent  as directed by the product’s prescribing information.

    In an individual physically dependent on opioids, administration of the recommended usual dosage of the overdose reversal agent will precipitate an acute withdrawal syndrome. The severity of the withdrawal symptoms experienced will depend on the degree of physical dependence and the dose of the reversal agent administered. If a decision is made to treat serious respiratory depression in the physically dependent patient, administration of the reversal agent should be begun with care and by titration with smaller than usual doses of the reversal agent.

  • 11 DESCRIPTION

    Tramadol Hydrochloride Tablets, USP for oral use, are an opioid agonist. The chemical name for tramadol hydrochloride is (±) cis-2-[(dimethylamino) methyl]-1-(3- methoxyphenyl) cyclohexanol hydrochloride. The structural formula is:

    "Image Description"

    The molecular weight of tramadol hydrochloride is 299.8. Tramadol hydrochloride is a white crystalline powder. It is readily soluble in water and ethanol and has a pKa of 9.41. Then-octanol/water log partition coefficient (logP) is 1.35 at pH 7. Tramadol Hydrochloride Tablets, USP 25 mg, 50 mg, 75 mg and 100 mg contain 25 mg, 50 mg, 75 mg and 100 mg of tramadol hydrochloride respectively and are white in color. Inactive ingredients in the tablet are hypromellose, lactose anhydrous, magnesium stearate, microcrystalline cellulose, polyethylene glycol, polysorbate 80, pregelatinized starch, sodium starch glycolate and titanium dioxide.

  • 12 CLINICAL PHARMACOLOGY

    12.1 Mechanism of Action

    Tramadol hydrochloride tablets contains tramadol, an opioid agonist and inhibitor of norepinephrine and serotonin re-uptake. Although the mode of action is not completely understood, the analgesic effect of tramadol is believed to be due to both binding to μ-opioid receptors and weak inhibition of re-uptake of norepinephrine and serotonin.

    Opioid activity is due to both low affinity binding of the parent compound and higher affinity binding of the O-demethylated metabolite M1 to μ-opioid receptors. In animal models, M1 is up to 6 times more potent than tramadol in producing analgesia and 200 times more potent in μ-opioid binding. Tramadol-induced analgesia is only partially antagonized by the opioid antagonist naloxone in several animal tests. The relative contribution of both tramadol and M1 to human analgesia is dependent upon the plasma concentrations of each compound [see Clinical Pharmacology (12.2)] .

    Analgesia in humans begins approximately within one hour after administration and reaches a peak in approximately two to three hours.

    12.2 Pharmacodynamics

    Effects on the Central Nervous System

    Tramadol produces respiratory depression by direct action on brain stem respiratory centers. The respiratory depression involves a reduction in the responsiveness of the brain stem respiratory centers to both increases in carbon dioxide tension and electrical stimulation.

    Tramadol administration may produce a constellation of symptoms including nausea and vomiting, dizziness, and somnolence.

    Tramadol causes miosis, even in total darkness. Pinpoint pupils are a sign of opioid overdose but are not pathognomonic (e.g., pontine lesions of hemorrhagic or ischemic origins may produce similar findings). Marked mydriasis rather than miosis may be seen due to hypoxia in overdose situations.

    Effects on the Gastrointestinal Tract and Other Smooth Muscle

    Tramadol causes a reduction in motility associated with an increase in smooth muscle tone in the antrum of the stomach and duodenum. Digestion of food in the small intestine is delayed and propulsive contractions are decreased. Propulsive peristaltic waves in the colon are decreased, while tone may be increased to the point of spasm resulting in constipation. Other opioid-induced effects may include a reduction in biliary and pancreatic secretions, spasm of sphincter of Oddi, and transient elevations in serum amylase, and opioid-induced esophageal dysfunction (OIED).

    Effects on the Cardiovascular System

    Tramadol produces peripheral vasodilation, which may result in orthostatic hypotension or syncope. Manifestations of peripheral vasodilation may include pruritus, flushing, red eyes, sweating and/or orthostatic hypotension.

    The effect of oral tramadol on the QTcF interval was evaluated in a double-blind, randomized, four-way crossover, placebo-and positive-(moxifloxacin) controlled study in 68 adult male and female healthy subjects. At a 600 mg/day dose (1.5-fold the maximum immediate-release daily dose), the study demonstrated no significant effect on the QTcF interval.

    Effects on the Endocrine System

    Opioids inhibit the secretion of adrenocorticotropic hormone (ACTH), cortisol, and luteinizing hormone (LH) in humans. They also stimulate prolactin, growth hormone (GH) secretion, and pancreatic secretion of insulin and glucagon [see Warnings and Precautions (5.11), Adverse Reactions (6)] .

    Use of opioids for an extended period of time may influence the hypothalamic-pituitary-gonadal axis, leading to androgen deficiency that may manifest as low libido, impotence, erectile dysfunction, amenorrhea, or infertility. The causal role of opioids in the clinical syndrome of hypogonadism is unknown because the various medical, physical, lifestyle, and psychological stressors that may influence gonadal hormone levels have not been adequately controlled for in studies conducted to date [see Adverse Reactions (6)] .

    Effects on the Immune System

    Opioids have been shown to have a variety of effects on components of the immune system in in vitroand animal models. The clinical significance of these findings is unknown. Overall, the effects of opioids appear to be modestly immunosuppressive.

    Concentration–Efficacy Relationships

    The minimum effective analgesic concentration will vary widely among patients, especially among patients who have been previously treated with potent opioid agonists. The minimum effective analgesic concentration of tramadol for any individual patient may increase over time due to an increase in pain, the development of a new pain syndrome and/or the development of analgesic tolerance [see Dosage and Administration (2)] .

    Concentration–Adverse Reaction Relationships

    There is a relationship between increasing tramadol plasma concentration and increasing frequency of dose-related opioid adverse reactions such as nausea, vomiting, CNS effects, and respiratory depression. In opioid-tolerant patients, the situation may be altered by the development of tolerance to opioid-related adverse reactions [see Dosage and Administration (2)] .

    12.3 Pharmacokinetics

    The analgesic activity of tramadol hydrochloride tablets is due to both parent drug and the M1 metabolite [see Clinical Pharmacology ( 12.1, 12.2)] . Tramadol is administered as a racemate and both the [-] and [+] forms of both tramadol and M1 are detected in the circulation. Linear pharmacokinetics have been observed following multiple doses of 50 and 100 mg to steady-state.

    Absorption

    The mean absolute bioavailability of a 100 mg oral dose is approximately 75%. The mean peak plasma concentration of racemic tramadol and M1 occurs at two and three hours, respectively, after administration in healthy adults. In general, both enantiomers of tramadol and M1 follow a parallel time course in the body following single and multiple doses although small differences (~ 10%) exist in the absolute amount of each enantiomer present.

    Steady-state plasma concentrations of both tramadol and M1 are achieved within two days with four times per day dosing. There is no evidence of self-induction (see Figure 1 and Table 3 below).

    Figure 1: Mean Tramadol and M1 Plasma Concentration Profiles after a Single 100 mg Oral Dose and after Twenty-Nine 100 mg Oral Doses of Tramadol HCl given four times per day.

    "Image Description"

    Table 3: Mean (%CV) Pharmacokinetic Parameters for Racemic Tramadol and M1 Metabolite

    Population / Dosage

    Regimen a

    Parent Drug/

    Metabolite

    Peak Conc.

    (ng/mL)

    Time to Peak

    (hrs)

    Clearance/F b

    (mL/min/Kg)

    t ½(hrs)

    Healthy Adults, 100 mg qid, MD p.o.

    Tramadol

    M1

    592 (30)

    110 (29)

    2.3 (61)

    2.4 (46)

    5.90 (25) c

    6.7 (15)

    7.0 (14)

    Healthy Adults, 100mg SD p.o.

    Tramadol

    M1

    308 (25)

    55.0 (36)

    1.6 (63)

    3.0 (51)

    8.50 (31) c

    5.6 (20)

    6.7 (16)

    Geriatric,

    (>75 yrs)

    50 mg SD p.o.

    Tramadol

    M1

    208 (31) d

    2.1 (19) d

    6.89 (25) c

    7.0 (23) d

    Hepatic Impaired,

    50 mg SD p.o.

    Tramadol

    M1

    217 (11)

    19.4 (12)

    1.9 (16)

    9.8 (20)

    4.23 (56) c

    13.3 (11)

    18.5 (15)

    Renal Impaired,

    CLcr10–30 mL/min

    100 mg SD i.v.

    Tramadol

    M1

    c

    c

    c

    c

    4.23 (54) c

    10.6 (31)

    11.5 (40)

    Renal Impaired,

    CLcr<5 mL/min 100

    mg SD i.v.

    Tramadol

    M1

    c

    c

    c

    c

    3.73 (17) c

    11.0 (29)

    16.9 (18)

    aSD = Single dose, MD = Multiple dose, p.o.= Oral administration, i.v.= Intravenous administration, q.i.d. = Four times daily

    bF represents the oral bioavailability of tramadol

    cNot applicable

    dNot measured

    Food Effects

    Oral administration of tramadol hydrochloride tablets with food does not significantly affect its rate or extent of absorption, therefore, tramadol hydrochloride tablets can be administered without regard to food.

    Distribution

    The volume of distribution of tramadol was 2.6 and 2.9 liters/kg in male and female subjects, respectively, following a 100 mg intravenous dose. The binding of tramadol to human plasma proteins is approximately 20% and binding also appears to be independent of concentration up to 10 mcg/mL. Saturation of plasma protein binding occurs only at concentrations outside the clinically relevant range.

    Elimination

    Tramadol is eliminated primarily through metabolism by the liver and the metabolites are eliminated primarily by the kidneys. The mean (%CV) apparent total clearance of tramadol after a single 100 mg oral dose is 8.50 (31) mL/min/kg. The mean terminal plasma elimination half-lives of racemic tramadol and racemic M1 are 6.3 ± 1.4 and 7.4 ± 1.4 hours, respectively. The plasma elimination half-life of racemic tramadol increased from approximately six hours to seven hours upon multiple dosing.

    Metabolism

    Tramadol is extensively metabolized after oral administration by a number of pathways, including CYP2D6 and CYP3A4, as well as by conjugation of parent and metabolites. Approximately 30% of the dose is excreted in the urine as unchanged drug, whereas 60% of the dose is excreted as metabolites. The remainder is excreted either as unidentified or as unextractable metabolites. The major metabolic pathways appear to be N-and O-demethylation and glucuronidation or sulfation in the liver. One metabolite ( O-desmethyltramadol, denoted M1) is pharmacologically active in animal models. Formation of M1 is dependent on CYP2D6 and as such is subject to inhibition, which may affect the therapeutic response [ Warnings and Precautions (5.4); Drug Interactions (7)] .

    Approximately 7% of the population has reduced activity of the CYP2D6 isoenzyme of cytochrome P-450. These individuals are “poor metabolizers” of debrisoquine, dextromethorphan, tricyclic antidepressants, among other drugs. Based on a population PK analysis of Phase 1 studies in healthy subjects, concentrations of tramadol were approximately 20% higher in “poor metabolizers” versus “extensive metabolizers”, while M1 concentrations were 40% lower. Concomitant therapy with inhibitors of CYP2D6 such as fluoxetine, paroxetine and quinidine could result in significant drug interactions. In vitrodrug interaction studies in human liver microsomes indicate that inhibitors of CYP2D6 such as fluoxetine and its metabolite norfluoxetine, amitriptyline and quinidine inhibit the metabolism of tramadol to various degrees, suggesting that concomitant administration of these compounds could result in increases in tramadol concentrations and decreased concentrations of M1. The full pharmacological impact of these alterations in terms of either efficacy or safety is unknown. Concomitant use of serotonin re-uptake inhibitors and MAO inhibitors may enhance the risk of adverse events, including seizure and serotonin syndrome [see Warnings and Precautions (5.8)and Drug Interactions (7)] .

    Excretion

    Tramadol metabolites are eliminated primarily by the kidneys. Approximately 30% of the dose is excreted in the urine as unchanged drug, whereas 60% of the dose is excreted as metabolites. The remainder is excreted either as unidentified or as unextractable metabolites.

    Special Populations

    Hepatic Impairment

    Metabolism of tramadol and M1 is reduced in patients with severe hepatic impairment based on a study in patients with advanced cirrhosis of the liver, resulting in both a larger area under the concentration time curve for tramadol and longer tramadol and M1 elimination half-lives (13 hrs. for tramadol and 19 hrs. for M1). In patients with severe hepatic impairment, adjustment of the dosing regimen is recommended [see Dosage and Administration (2)].

    Renal Impairment

    Impaired renal function results in a decreased rate and extent of excretion of tramadol and its active metabolite, M1. In patients with creatinine clearances of less than 30 mL/min, adjustment of the dosing regimen is recommended [see Dosage and Administration (2)] . The total amount of tramadol and M1 removed during a 4-hour dialysis period is less than 7% of the administered dose.

    Age: Geriatric

    Healthy elderly subjects aged 65 to 75 years have plasma tramadol concentrations and elimination half-lives comparable to those observed in healthy subjects less than 65 years of age. In subjects over 75 years, maximum serum concentrations are elevated (208 vs. 162 ng/mL) and the elimination half-life is prolonged (7 vs. 6 hours) compared to subjects 65 to 75 years of age. Adjustment of the daily dose is recommended for patients older than 75 years [see Dosage and Administration (2.3)] .

    Sex

    The absolute bioavailability of tramadol was 73% in males and 79% in females. The plasma clearance was 6.4 mL/min/kg in males and 5.7 mL/min/kg in females following a 100 mg IV dose of tramadol. Following a single oral dose, and after adjusting for body weight, females had a 12% higher peak tramadol concentration and a 35% higher area under the concentration-time curve compared to males. The clinical significance of this difference is unknown.

    Poor / Extensive Metabolizers, CYP2D6

    The formation of the active metabolite, M1, is mediated by CYP2D6, a polymorphic enzyme. Approximately 7% of the population has reduced activity of the CYP2D6 isoenzyme of cytochrome P450 metabolizing enzyme system. These individuals are “poor metabolizers” of debrisoquine, dextromethorphan and tricyclic antidepressants, among other drugs. Based on a population PK analysis of Phase 1 studies with IR tablets in healthy subjects, concentrations of tramadol were approximately 20% higher in “poor metabolizers” versus “extensive metabolizers,” while M1 concentrations were 40% lower. 

  • 13 NONCLINICAL TOXICOLOGY

    13.1 Carcinogenesis, Mutagenesis, Impairment of Fertility

    Carcinogenesis

    A slight, but statistically significant, increase in two common murine tumors, pulmonary and hepatic, was observed in an NMRI mouse carcinogenicity study, particularly in aged mice. Mice were dosed orally up to 30 mg/kg in the drinking water (0.36 times the MRHD) for approximately two years, although the study was not done with the Maximum Tolerated Dose. This finding is not believed to suggest risk in humans. No evidence of carcinogenicity was noted in a rat 2-year carcinogenicity study testing oral doses of up to 30 mg/kg in the drinking water, 0.73 times the MRHD.

    Mutagenesis

    Tramadol was mutagenic in the presence of metabolic activation in the mouse lymphoma assay. Tramadol was not mutagenic in the in vitrobacterial reverse mutation assay using Salmonellaand E. coli(Ames), the mouse lymphoma assay in the absence of metabolic activation, the in vitrochromosomal aberration assay, or the in vivomicronucleus assay in bone marrow.

    Impairment of Fertility

    No effects on fertility were observed for tramadol at oral dose levels up to 50 mg/kg in male rats and 75 mg/kg in female rats. These dosages are 1.2 and 1.8 times the maximum recommended human daily dose based on body surface area, respectively.

  • 14 CLINICAL STUDIES

    Tramadol hydrochloride tablets has been given in single oral doses of 50, 75 and 100 mg to patients with pain following surgical procedures and pain following oral surgery (extraction of impacted molars).

    In single-dose models of pain following oral surgery, pain relief was demonstrated in some patients at doses of 50 mg and 75 mg. A dose of 100 mg tramadol hydrochloride tablets tended to provide analgesia superior to codeine sulfate 60 mg, but it was not as effective as the combination of aspirin 650 mg with codeine phosphate 60 mg.

    Tramadol hydrochloride tablets has been studied in three long-term controlled trials involving a total of 820 patients, with 530 patients receiving tramadol hydrochloride tablets. Patients with a variety of chronic painful conditions were studied in double-blind trials of one to three months duration. Average daily doses of approximately 250 mg of tramadol hydrochloride tablets in divided doses were generally comparable to five doses of acetaminophen 300 mg with codeine phosphate 30 mg (TYLENOL with Codeine #3) daily, five doses of aspirin 325 mg with codeine phosphate 30 mg daily, or two to three doses of acetaminophen 500 mg with oxycodone hydrochloride 5 mg (TYLOX) daily.

    Titration Trials

    In a randomized, blinded clinical study with 129 to 132 patients per group, a 10-day titration to a daily tramadol hydrochloride tablets dose of 200 mg (50 mg four times per day), attained in 50 mg increments every 3 days, was found to result in fewer discontinuations due to dizziness or vertigo than titration over only 4 days or no titration. In a second study with 54 to 59 patients per group, patients who had nausea or vomiting when titrated over 4 days were randomized to re-initiate tramadol hydrochloride tablets therapy using slower titration rates.

    A 16-day titration schedule, starting with 25 mg every morning and using additional doses in 25 mg increments every third day to 100 mg/day (25 mg four times per day), followed by 50 mg increments in the total daily dose every third day to 200 mg/day (50 mg four times per day), resulted in fewer discontinuations due to nausea or vomiting and fewer discontinuations due to any cause than did a 10-day titration schedule.

    Figure 2:

    "Image Description"

    The brands listed are the registered trademarks of their respective owners.

  • 16 HOW SUPPLIED/STORAGE AND HANDLING

    Tramadol Hydrochloride Tablets, USP 50 mg are white to off white, capsule-shaped film coated tablet debossed with “018” on one side and scored on other side.

    NDC: 71335-9658-1: 30 Tablets in a BOTTLE

    NDC: 71335-9658-2: 20 Tablets in a BOTTLE

    NDC: 71335-9658-3: 90 Tablets in a BOTTLE

    NDC: 71335-9658-4: 60 Tablets in a BOTTLE

    NDC: 71335-9658-5: 120 Tablets in a BOTTLE

    NDC: 71335-9658-6: 180 Tablets in a BOTTLE

    NDC: 71335-9658-7: 40 Tablets in a BOTTLE

    NDC: 71335-9658-8: 100 Tablets in a BOTTLE

    NDC: 71335-9658-9: 15 Tablets in a BOTTLE

    NDC: 71335-9658-0: 50 Tablets in a BOTTLE

    Dispense in a tight container. Store at 20°C to 25°C (68°F to 77°F); excursions permitted to 15°C to 30°C (59°F to 86°F). [see USP Controlled Room Temperature].

    Store tramadol hydrochloride tablets securely and dispose of properly [ see PATIENT COUNSELLING INFORMATION (17)]

    Repackaged/Relabeled by:
    Bryant Ranch Prepack
    Burbank, CA 91504

  • 17 PATIENT COUNSELING INFORMATION

    Advise the patient to read the FDA-approved patient labeling (Medication Guide).

    Storage and Disposal

    Because of the risks associated with accidental ingestion, misuse, and abuse, advise patients to store tramadol hydrochloride securely, out of sight and reach of children, and in a location not accessible by others, including visitors to the home Inform patients that leaving tramadol hydrochloride unsecured can pose a deadly risk to others in the home.  [see Warnings and Precautions (5.1, 5.17), Drug Abuse and Dependence (9.2)].

    Advise patients and caregivers that when medicines are no longer needed, they should be disposed of promptly. Inform patients that medicine take-back options are the preferred way to safely dispose of most types of unneeded medicines. If no take back programs or Drug Enforcement Administration (DEA)-registered collectors are available, instruct patients to dispose of tramadol hydrochloride by following these four steps:

    • Mix tramadol hydrochloride (do not crush) with an unpalatable substance such as dirt, cat litter, or used coffee grounds;
    • Place the mixture in a container such as a sealed plastic bag;
    • Throw the container in the household trash;
    • Delete all personal information on the prescription label of the empty bottle.

    Inform patients that they can visit www.fda.gov/drugdisposal for additional information on disposal of unused medicine

    Addiction, Abuse, and Misuse

    Inform patients that the use of tramadol hydrochloride, even when taken as recommended, can result in addiction, abuse, and misuse, which can lead to overdose and death [see Warnings and Precautions (5.1)] .

    Life-Threatening Respiratory Depression

    Inform patients of the risk of life-threatening respiratory depression, including information that the risk is greatest when starting tramadol hydrochloride tablets or when the dosage is increased, and that it can occur even at recommended dosages.

    Educate patients and caregivers on how to recognize respiratory depression and emphasize the importance of calling 911 or getting emergency medical help right away in the event of a known or suspected overdose [see Warnings and Precautions (5.3)] .

    Interactions with Benzodiazepines and Other CNS Depressants

    Inform patients and caregivers that potentially fatal additive effects may occur if tramadol hydrochloride is used with benzodiazepines, CNS depressants, including alcohol, (e.g., non-benzodiazepine, sedative/hypnotics, anxiolytics, tranquilizers, muscle relaxants, general anesthetics, antipsychotics, gabapentinoids [gabapentin or pregabalin], and other opioids), and not to use these concomitantly unless supervised by a healthcare provider [see Warnings and Precautions (5.7); Drug Interactions (7)].

    Patient Access to an Opioid Overdose Reversal Agent for the Emergency Treatment of Opioid Overdose

    Inform patients and caregivers about opioid overdose reversal agents (e.g., naloxone, nalmefene). Discuss the importance of having access to an opioid overdose reversal agent, especially if the patient has risk factors for overdose (e.g., concomitant use of CNS depressants, a history of opioid use disorder, or prior opioid overdose) or if there are household members (including children) or other close contacts at risk for accidental ingestion or opioid overdose.

    Discuss with the patient the options for obtaining an opioid overdose reversal agent (e.g., prescription, over-the-counter, or as part of a community-based program) [see Dosage and Administration (2.2), Warnings and Precautions (5.3)] .

    Educate patients and caregivers on how to recognize the signs and symptoms of an overdose.

    Explain to patients and caregivers that effects of opioid overdose reversal agents like naloxone and nalmefene are temporary, and that they must call 911 or get emergency medical help right away in all cases of known or suspected opioid overdose, even if an opioid overdose reversal agent is administered [see Overdosage (10)].

    Advise patients and caregivers:

    • how to treat with the overdose reversal agent in the event of an opioid overdose
    • to tell family and friends about the opioid overdose reversal agent, and to keep it in a place where family and friends can access it in an emergency
    • to read the Patient Information (or other educational material) that will come with their opioid overdose reversal agent. Emphasize the importance of doing this before an opioid emergency happens, so the patient and caregiver will know what to do.

    Ultra-Rapid Metabolism of Tramadol and Other Risk Factors for Life-threatening Respiratory Depression in Children

    Advise caregivers that tramadol hydrochloride is contraindicated in children younger than 12 years of age and in children younger than 18 years of age following tonsillectomy and/or adenoidectomy. Advise caregivers of children ages 12 to 18 years of age receiving tramadol hydrochloride to monitor for signs of respiratory depression [see Warnings and Precautions (5.4)] .

    Hyperalgesia and Allodynia

    Advise patients to seek medical attention if they experience symptoms of hyperalgesia, including worsening pain, increased sensitivity to pain, or new pain [see Warnings and Precautions (5.8); Adverse Reactions (6.2)].

    Maximum single-dose and 24-hour dose

    Advise patients not to exceed the single-dose and 24-hour dose limit and the time interval between doses, since exceeding these recommendations can result in respiratory depression, seizures and death [see Dosage and Administration (2); Warnings and Precautions (5.3)] .

    Serotonin Syndrome

    Inform patients that opioids could cause a rare but potentially life-threatening condition resulting from concomitant administration of serotonergic drugs. Warn patients of the symptoms of serotonin syndrome, and to seek medical attention right away if symptoms develop after discharge from the hospital. Instruct patients to inform their healthcare provider if they are taking, or plan to take serotonergic medications [see Warnings and Precautions (5.8), Drug Interaction (7)] .

    Seizures

    Inform patients that tramadol hydrochloride may cause seizures with concomitant use of serotonergic agents (including SSRIs, SNRIs, and triptans) or drugs that significantly reduce the metabolic clearance of tramadol [see Warnings and Precautions (5.9)] .

    MAOI Interaction

    Inform patients not to take tramadol hydrochloride while using any drugs that inhibit monoamine oxidase. Patients should not start MAOIs while taking tramadol hydrochloride tablet [see Drug Interactions (7)] .

    Important Administration Instructions

    • Instruct patients how to properly take tramadol hydrochloride tablets [see Dosage and Administration (2)] .
    • Advise patients not to adjust the dose of tramadol hydrochloride tablets without consulting with a physician or other healthcare professional.

    Important Discontinuation Instructions

    • In order to avoid developing withdrawal symptoms, instruct patients not to discontinue tramadol hydrochloride without first discussing a tapering plan with the prescriber [see Dosage and Administration (2.5)].

    Driving or Operating Heavy Machinery

    Inform patients that tramadol hydrochloride tablets may impair the ability to perform potentially hazardous activities such as driving a car or operating heavy machinery. Advise patients not to perform such tasks until they know how they will react to the medication [see Warnings and Precautions (5.18)] .

    Constipation

    Advise patients of the potential for severe constipation, including management instructions and when to seek medical attention [see Adverse Reactions (6), Clinical Pharmacology (12.2)] .

    Adrenal Insufficiency

    Inform patients that opioids could cause adrenal insufficiency, a potentially life-threatening condition. Adrenal insufficiency may present with non-specific symptoms and signs such as nausea, vomiting, anorexia, fatigue, weakness, dizziness, and low blood pressure. Advise patients to seek medical attention if they experience a constellation of these symptoms [see Warnings and Precautions (5.11)] .

    Hypotension

    Inform patients that tramadol hydrochloride may cause orthostatic hypotension and syncope. Instruct patients how to recognize symptoms of low blood pressure and how to reduce the risk of serious consequences should hypotension occur (e.g., sit or lie down, carefully rise from a sitting or lying position) [see Warnings and Precautions (5.13)] .

    Anaphylaxis

    Inform patients that anaphylaxis has been reported with ingredients contained in tramadol hydrochloride. Advise patients how to recognize such a reaction and when to seek medical attention [see Contraindications (4); Warnings and Precautions (5.16); Adverse Reactions (6)] .

    Pregnancy

    Neonatal Opioid Withdrawal Syndrome

    Inform female patients of reproductive potential that prolonged use of tramadol hydrochloride during pregnancy can result in neonatal opioid withdrawal syndrome, which may be life-threatening if not recognized and treated. The patient should inform their healthcare provider if they have used opioids at any time during their pregnancy. [see Warnings and Precautions (5.5); Use in Specific Populations (8.1)] .

    Embryo-Fetal Toxicity

    Inform female patients of reproductive potential that tramadol hydrochloride may cause fetal harm and to inform the healthcare provider of a known or suspected pregnancy [see Use in Specific Populations (8.1)] .

    Lactation

    Advise women that breastfeeding is not recommended during treatment with tramadol hydrochloride tablets [see Warnings and Precautions (5.4); Use in Specific Populations (8.2)] .

    Infertility

    Inform patients that chronic use of opioids may cause reduced fertility. It is not known whether these effects on fertility are reversible [see Use in Specific Populations (8.3)] .


    Distributed By:
    Advagen Pharma Ltd.,
    East Windsor, NJ  08520, USA.

    Manufactured by:
    Rubicon Research Ltd.,
    Thane 421506, India.

    Revised: 10/2025

  • MEDICATION GUIDE

    Medication Guide
    Tramadol Hydrochloride (TRAM-a-dol HYE-droe-KLOR-ide) Tablets, USP CIV
    Tramadol hydrochloride tablets are:
    • A strong prescription pain medicine that contains an opioid (narcotic) that is used for the management pain in adults, when other pain treatments such as non-opioid pain medicines do not treat your pain well enough or you cannot tolerate them.
    • An opioid pain medicine that can put you at risk for overdose and death. Even if you take your dose correctly as prescribed you are at risk for opioid addiction, abuse, and misuse that can lead to death.
    Important information about tramadol hydrochloride tablets:
    • Get emergency help or call 911 right away if you take too much tramadol hydrochloride tablets (overdose). When you first start taking tramadol hydrochloride tablets, when your dose is changed, or if you take too much (overdose), serious or life-threatening breathing problems that can lead to death may occur. Ask your healthcare provider about medicines like naloxone,or nalmefene that can be used in an emergency to reverse an opioid overdose.
    • Taking tramadol hydrochloride tablets with other opioid medicines, benzodiazepines, gabapentinoids (gabapentin or pregabalin), alcohol, or other central nervous system depressants (including street drugs) can cause severe drowsiness, decreased awareness, breathing problems, coma, and death.
    • Never give anyone else your tramadol hydrochloride tablets. They could die from taking it. Selling or giving away tramadol hydrochloride tablets is against the law.
    • Store tramadol hydrochloride tablets securely, out of sight and reach of children, and in a location not accessible by others, including visitors to the home.
    Important Information Guiding Use in Pediatric Patients:
    • Do not give tramadol hydrochloride tablets to a child younger than 12 years of age.
    • Do not give tramadol hydrochloride tablets to a child younger than 18 years of age after surgery to remove the tonsils and/or adenoids.
    • Avoid giving tramadol hydrochloride tablets to children between 12 to 18 years of age who have risk factors for breathing problems such as obstructive sleep apnea, obesity, or underlying lung problems.

    Do not take tramadol hydrochloride tablets if you have:

    • Severe asthma, trouble breathing, or other lung problems.
    • A bowel blockage or have narrowing of the stomach or intestines.
    • An allergy to tramadol.
    • Taken a Monoamine Oxidase Inhibitor, MAOI, (medicine used for depression) within the last 14 days.
    Before taking tramadol hydrochloride tablets, tell your healthcare provider if you have a history of:
    • head injury, seizures
    • problems urinating
    • liver, kidney, thyroid problems
    • pancreas or gallbladder problems
    • abuse of street or prescription drugs, alcohol addiction, opioid overdose, or mental health problems.
    Tell your healthcare provider if you are:
    • Arepregnant or planning to become pregnant.Use of tramadol hydrochloride tablets for an extended period of time during pregnancy can cause withdrawal symptoms in your newborn baby that could be life-threatening if not recognized and treated.

    • breastfeeding. Not recommended; it may harm your baby. Carefully observe infants for increased sleepiness (more than usual), breathing difficulties, or limpness. Seek immediate medical care if you notice these signs.
    • living in a household where there are small children or someone who has abused street or prescription drugs.
    • taking prescription or over-the-counter medicines, vitamins, or herbal supplements. Taking tramadol hydrochloride tablets with certain other medicines can cause serious side effects that could lead to death.
    • Notice your pain getting worse. If your pain gets worse after you take tramadol hydrochloride tablets, do not take more of tramadol hydrochloride tablets without first talking to your doctor. Talk to your doctor if the pain you have increases, if you feel more sensitive to pain, or if you have new pain after taking tramadol hydrochloride tablets.
    When taking tramadol hydrochloride tablets:
    • Do not change your dose. Take tramadol hydrochloride tablets exactly as prescribed by your healthcare provider. Use the lowest dose possible for the shortest time needed.
    • For acute (short-term) pain, you may only need to take tramadol hydrochloride tablets for a few days. You may have some tramadol hydrochloride tablets left over that you did not use. See disposal information at the bottom of this section for directions on how to safely dispose of tramadol hydrochloride tablets.
    • Take your prescribed dose as indicated by your healthcare provider. The maximum dosage is 1 or 2 tablets every 4 to 6 hours, as needed for pain relief. Do not take more than your prescribed dose and do not take more than 8 tablets per day. If you miss a dose, take your next dose at your usual time.
    • Call your healthcare provider if the dose you are taking does not control your pain.
    • If you have been taking tramadol hydrochloride tablets regularly, do not stop taking tramadol hydrochloride tablets without talking to your healthcare provider.
    • Dispose of expired, unwanted, or unused tramadol hydrochloride tablets by taking your drug to an authorized Drug Enforcement Administration (DEA)-registered collector or drug take-back program. If one is not available, you can dispose of tramadol hydrochloride tablets by mixing the product with dirt, cat litter, or coffee grounds; placing the mixture in a sealed plastic bag, and throwing the bag in your trash.
    While taking tramadol hydrochloride tablets DO NOT:
    • Drive or operate heavy machinery, until you know how tramadol hydrochloride tablets affects you. Tramadol hydrochloride tablets can make you sleepy, dizzy, or lightheaded.
    • Drink alcohol or use prescription or over-the-counter medicines that contain alcohol. Using products containing alcohol during treatment with tramadol hydrochloride tablets may cause you to overdose and die.
    The possible side effects of tramadol hydrochloride tablets:
    • constipation, nausea, sleepiness, vomiting, tiredness, headache, dizziness, abdominal pain. Call your healthcare provider if you have any of these symptoms and they are severe.
    Get emergency medical help or call 911 right away if you have:
    • trouble breathing, shortness of breath, fast heartbeat, chest pain, swelling of your face, tongue, or throat, extreme drowsiness, light-headedness when changing positions, feeling faint, agitation, high body temperature, trouble walking, stiff muscles, or mental changes such as confusion.
    • These are not all the possible side effects of tramadol hydrochloride tablets. Call your doctor for medical advice about side effects. You may report side effects to Advagen Pharma Ltd, at 866-488-0312 or FDA at 1-800-FDA-1088. For more information go to fda.report.

    Distributed By:

    Advagen Pharma Ltd.,
    East Windsor, NJ 08520, USA.


    Manufactured by:

    Rubicon Research Ltd.,
    Thane 421506, India.

    Revised: 08/2025

    This Medication Guide has been approved by the U.S. Food and Drug Administration.

  • PRINCIPAL DISPLAY PANEL

    traMADol Hcl 50mg (CIV) Tablet

    Label
  • INGREDIENTS AND APPEARANCE
    TRAMADOL HYDROCHLORIDE 
    tramadol hydrochloride tablet, coated
    Product Information
    Product TypeHUMAN PRESCRIPTION DRUGItem Code (Source)NDC: 71335-9658(NDC:72888-080)
    Route of AdministrationORALDEA ScheduleCIV    
    Active Ingredient/Active Moiety
    Ingredient NameBasis of StrengthStrength
    TRAMADOL HYDROCHLORIDE (UNII: 9N7R477WCK) (TRAMADOL - UNII:39J1LGJ30J) TRAMADOL HYDROCHLORIDE50 mg
    Inactive Ingredients
    Ingredient NameStrength
    HYPROMELLOSE, UNSPECIFIED (UNII: 3NXW29V3WO)  
    ANHYDROUS LACTOSE (UNII: 3SY5LH9PMK)  
    MAGNESIUM STEARATE (UNII: 70097M6I30)  
    MICROCRYSTALLINE CELLULOSE (UNII: OP1R32D61U)  
    POLYETHYLENE GLYCOL, UNSPECIFIED (UNII: 3WJQ0SDW1A)  
    POLYSORBATE 80 (UNII: 6OZP39ZG8H)  
    STARCH, CORN (UNII: O8232NY3SJ)  
    SODIUM STARCH GLYCOLATE TYPE A (UNII: H8AV0SQX4D)  
    TITANIUM DIOXIDE (UNII: 15FIX9V2JP)  
    Product Characteristics
    Colorwhite (white to off white) Score2 pieces
    ShapeCAPSULESize13mm
    FlavorImprint Code 018
    Contains    
    Packaging
    #Item CodePackage DescriptionMarketing Start DateMarketing End Date
    1NDC: 71335-9658-130 in 1 BOTTLE; Type 0: Not a Combination Product06/24/2025
    2NDC: 71335-9658-220 in 1 BOTTLE; Type 0: Not a Combination Product07/02/2025
    3NDC: 71335-9658-390 in 1 BOTTLE; Type 0: Not a Combination Product07/29/2025
    4NDC: 71335-9658-460 in 1 BOTTLE; Type 0: Not a Combination Product04/13/2026
    5NDC: 71335-9658-5120 in 1 BOTTLE; Type 0: Not a Combination Product07/15/2025
    6NDC: 71335-9658-6180 in 1 BOTTLE; Type 0: Not a Combination Product04/13/2026
    7NDC: 71335-9658-740 in 1 BOTTLE; Type 0: Not a Combination Product04/13/2026
    8NDC: 71335-9658-8100 in 1 BOTTLE; Type 0: Not a Combination Product12/24/2025
    9NDC: 71335-9658-915 in 1 BOTTLE; Type 0: Not a Combination Product04/13/2026
    10NDC: 71335-9658-050 in 1 BOTTLE; Type 0: Not a Combination Product04/13/2026
    Marketing Information
    Marketing CategoryApplication Number or Monograph CitationMarketing Start DateMarketing End Date
    ANDAANDA20870807/24/2023
    Labeler - Bryant Ranch Prepack (171714327)
    Registrant - Bryant Ranch Prepack (171714327)
    Establishment
    NameAddressID/FEIBusiness Operations
    Bryant Ranch Prepack171714327REPACK(71335-9658) , RELABEL(71335-9658)

  • © 2026 FDA.report
    This site is not affiliated with or endorsed by the FDA.