Oxycodone Hydrochloride by is a Prescription medication manufactured, distributed, or labeled by Bryant Ranch Prepack. Drug facts, warnings, and ingredients follow.
See full prescribing information for complete boxed warning.
Oxycodone hydrochloride tablets exposes users to risks of addiction, abuse, and misuse, which can lead to overdose and death. Assess patient’s risk before prescribing and monitor regularly for these behaviors and conditions. (5.1)
To ensure that the benefits of opioid analgesics outweigh the risks of addiction, abuse, and misuse, the Food and Drug Administration (FDA) has required a Risk Evaluation and Mitigation Strategy (REMS) for these products. (5.2)
Serious, life-threatening, or fatal respiratory depression may occur. Monitor closely, especially upon initiation or following a dose increase. (5.3)
Accidental ingestion of oxycodone hydrochloride tablets, especially by children, can result in a fatal overdose of oxycodone. (5.3)
Prolonged use of oxycodone hydrochloride tablets during pregnancy can result in neonatal opioid withdrawal syndrome, which may be life-threatening if not recognized and treated. If prolonged opioid use is required in a pregnant woman, advise the patient of the risk of neonatal opioid withdrawal syndrome and ensure that appropriate treatment will be available. (5.4)
Concomitant use with CYP3A4 inhibitors (or discontinuation of CYP3A4 inducers) can result in a fatal overdose of oxycodone from oxycodone hydrochloride tablets. (5.5, 7, 12.3)
Concomitant use of opioids with benzodiazepines or other central nervous system (CNS) depressants, including alcohol, may result in profound sedation, respiratory depression, coma, and death. Reserve concomitant prescribing for use in patients for whom alternative treatment options are inadequate; limit dosages and durations to the minimum required; and follow patients for signs and symptoms of respiratory depression and sedation. (5.6, 7)
Dosage and Administration (2.2) 03/2021
Warnings and Precautions (5.1, 5.3, 5.6) 03/2021
Oxycodone hydrochloride is an opioid agonist indicated for the management of pain severe enough to require an opioid analgesic and for which alternative treatments are inadequate. (1) (1)
Limitations of Use (1) (1)
Because of the risks of addiction, abuse, and misuse with opioids, (1)
even at recommended doses, reserve oxycodone hydrochloride for use in patients for whom alternative treatment options (e.g., non-opioid analgesics or non-opioid combination products): (1)
Have not been tolerated, or are not expected to be tolerated, (1)
Have not provided adequate analgesia or are not expected to provide adequate analgesia. (1)
Immediate-release tablets: 15 mg, 30 mg (3) (3)
Life-Threatening Respiratory Depression in Patients with Chronic Pulmonary Disease or in Elderly, Cachectic, or Debilitated Patients:Monitor closely, particularly during initiation and titration. (5.7) (5)
Adrenal Insufficiency: If diagnosed, treat with physiologic replacement of corticosteroids, and wean patient off of the opioid. (5.8) (5)
Severe Hypotension: Monitor during dosage initiation and titration. Avoid use of oxycodone hydrochloride in patients with circulatory shock. (5.9) (5)
Risks of Use in Patients with Increased Intracranial Pressure, BrainTumors, Head Injury, or Impaired Consciousness: Monitor for sedation and respiratory depression. Avoid use of oxycodone hydrochloride in patients with impaired consciousness or coma. (5.10) (5)
Serotonergic Drugs: Concomitant use may result in serotonin syndrome. Discontinue oxycodone hydrochloride if serotonin syndrome is suspected. (7) (7)
Mixed Agonist/Antagonist and Partial Agonist Opioid Analgesics: Avoid use with oxycodone hydrochloride because they may reduce analgesic effect of oxycodone hydrochloride or precipitate withdrawal symptoms. (7) (7)
Monoamine Oxidase Inhibitors (MAOIs): Can potentiate the effects of morphine. Avoid concomitant use in patients receiving MAOIs or within 14 days of stopping treatment with an MAOI. (7) (7)
Pregnancy: May cause fetal harm. (8.1) (8)
See 17 for PATIENT COUNSELING INFORMATION and Medication Guide.
Revised: 4/2026
Addiction, Abuse, and Misuse
Oxycodone hydrochloride tablets exposes patients and other users to the risks of opioid addiction, abuse, and misuse, which can lead to overdose and death. Assess each patient’s risk prior to prescribing oxycodone hydrochloride tablets, and monitor all patients regularly for the development of these behaviors and conditions [see Warnings and Precautions (5.1)].
Opioid Analgesic Risk Evaluation and Mitigation Strategy (REMS)
To ensure that the benefits of opioid analgesics outweigh the risks of addiction, abuse, and misuse, the Food and Drug Administration (FDA) has required a REMS for these products [see Warnings and Precautions (5.2)]. Under the requirements of the REMS, drug companies with approved opioid analgesic products must make REMS-compliant education programs available to healthcare providers. Healthcare providers are strongly encouraged to
Life-Threatening Respiratory Depression
Serious, life-threatening, or fatal respiratory depression may occur with use of oxycodone hydrochloride tablets. Monitor for respiratory depression, especially during initiation of oxycodone hydrochloride tablets or following a dose increase [see Warnings and Precautions (5.3)].
Accidental Ingestion
Accidental ingestion of even one dose of oxycodone hydrochloride tablets, especially by children, can result in a fatal overdose of oxycodone [see Warnings and Precautions (5.3)].
Neonatal Opioid Withdrawal Syndrome
Prolonged use of oxycodone hydrochloride tablets during pregnancy can result in neonatal opioid withdrawal syndrome, which may be life-threatening if not recognized and treated, and requires management according to protocols developed by neonatology experts. If opioid use is required for a prolonged period in a pregnant woman, advise the patient of the risk of neonatal opioid withdrawal syndrome and ensure that appropriate treatment will be available [see Warnings and Precautions (5.4)].
Cytochrome P450 3A4 Interaction
The concomitant use of oxycodone hydrochloride tablets with all cytochrome P450 3A4 inhibitors may result in an increase in oxycodone plasma concentrations, which could increase or prolong adverse reactions and may cause potentially fatal respiratory depression. In addition, discontinuation of a concomitantly used cytochrome P450 3A4 inducer may result in an increase in oxycodone plasma concentration. Monitor patients receiving oxycodone hydrochloride tablets and any CYP3A4 inhibitor or inducer [see Warnings and Precautions (5.5), Drug Interactions (7), Clinical Pharmacology (12.3)].
Risks from Concomitant Use with Benzodiazepines or Other CNS Depressants
Concomitant use of opioids with benzodiazepines or other central nervous system (CNS) depressants, including alcohol, may result in profound sedation, respiratory depression, coma, and death [see Warnings and Precautions (5.6), Drug Interactions (7)].
Oxycodone hydrochloride tablets are indicated for the management of pain severe enough to require an opioid analgesic and for which alternative treatments are inadequate.
Limitations of Use
Because of the risks of addiction, abuse, and misuse with opioids, even at recommended doses [see Warnings and Precautions (5.1)], reserve oxycodone hydrochloride tablets for use in patients for whom alternative treatment options (e.g., non-opioid analgesics or opioid combination products):
Have not been tolerated or are not expected to be tolerated,
Have not provided adequate analgesia or are not expected to provide adequate analgesia.
Use the lowest effective dosage for the shortest duration consistent with individual patient treatment goals [see Warnings and Precautions (5)].
Initiate the dosing regimen for each patient individually, taking into account the patient's severity of pain, patient response, prior analgesic treatment experience, and risk factors for addiction, abuse, and misuse [see Warnings and Precautions (5.1)].
Monitor patients closely for respiratory depression, especially within the first 24 to 72 hours of initiating therapy and following dosage increases with oxycodone hydrochloride and adjust the dosage accordingly [see Warnings and Precautions (5.3)].
Discuss the availability of naloxone for the emergency treatment of opioid overdose with the patient and caregiver and assess the potential need for access to naloxone, both when initiating and renewing treatment with oxycodone hydrochloride tablets [see Warnings and Precautions (5.3), Patient Counseling Information (17)].
Inform patients and caregivers about the various ways to obtain naloxone as permitted by individual state naloxone dispensing and prescribing requirements or guidelines (e.g., by prescription, directly from a pharmacist, or as part of a community-based program). Consider prescribing naloxone, based on the patient’s risk factors for overdose, such as concomitant use of CNS depressants, a history of opioid use disorder, or prior opioid overdose. The presence of risk factors for overdose should not prevent the proper management of pain in any given patient [see Warnings and Precautions (5.1, 5.3, 5.6)].
Consider prescribing naloxone if the patient has household members (including children) or other close contacts at risk for accidental ingestion or overdose.
Although it is not possible to list every condition that is important to the selection of the initial dose of oxycodone hydrochloride, attention must be given to:
1. the daily dose, potency and characteristics of a full agonist or mixed agonist/antagonist the patient has been taking previously.
2. the reliability of the relative potency estimate to calculate the dose of oxycodone HCl needed.
3. the degree of opioid tolerance.
4. the general condition and medical status of the patient, including the patient’s weight and age.
5. the balance between pain management and adverse reactions.
6. the type and severity of the patient’s pain.
7. risk factors for abuse or addiction, including a prior history of abuse or addiction.
Use of Oxycodone Hydrochloride as the First Opioid Analgesic
Initiate treatment with oxycodone hydrochloride in a dosing range of 5 to 15 mg every 4 to 6 hours as needed for pain. Titrate the dose based upon the individual patient’s response to their initial dose of oxycodone hydrochloride. Patients with chronic pain should have their dosage given on an around-the-clock basis to prevent the reoccurrence of pain rather than treating the pain after it has occurred. This dose can then be adjusted to an acceptable level of analgesia taking into account side effects experienced by the patient.
For control of severe chronic pain, oxycodone hydrochloride should be administered on a regularly scheduled basis, every 4 to 6 hours, at the lowest dosage level that will achieve adequate analgesia.
Conversion from Other Opioids to Oxycodone Hydrochloride
There is inter-patient variability in the potency of opioid drugs and opioid formulations. Therefore, a conservative approach is advised when determining the total daily dosage of oxycodone hydrochloride. It is safer to underestimate a patient’s 24-hour oxycodone hydrochloride dosage than to overestimate the 24-hour oxycodone hydrochloride dosage and manage an adverse reaction due to overdose. If a patient has been receiving opioid-containing medications prior to taking oxycodone hydrochloride, the potency of the prior opioid relative to oxycodone should be factored into the selection of the total daily dose (TDD) of oxycodone.
In converting patients from other opioids to oxycodone hydrochloride close observation and adjustment of dosage based upon the patient’s response to oxycodone hydrochloride is imperative. Administration of supplemental analgesia for breakthrough or incident pain and titration of the total daily dose of oxycodone hydrochloride may be necessary, especially in patients who have disease states that are changing rapidly.
Conversion from Fixed-Ratio Opioid/Acetaminophen, Opioid/Aspirin, or Opioid/Nonsteroidal Combination Drugs
When converting patients from fixed ratio opioid/non-opioid drug regimens a decision should be made whether or not to continue the non-opioid analgesic. If a decision is made to discontinue the use of non-opioid analgesic, it may be necessary to titrate the dose of oxycodone hydrochloride in response to the level of analgesia and adverse effects afforded by the dosing regimen. If the non-opioid regimen is continued as a separate single entity agent, the starting dose oxycodone hydrochloride should be based upon the most recent dose of opioid as a baseline for further titration of oxycodone. Incremental increases should be gauged according to side effects to an acceptable level of analgesia.
Conversion from oxycodone hydrochloride to Extended-Release Oxycodone
The relative bioavailability of oxycodone hydrochloride compared to extended-release oxycodone is unknown, so conversion to extended-release tablets must be accompanied by close observation for signs of excessive sedation and respiratory depression.
Individually titrate oxycodone hydrochloride to a dose that provides adequate analgesia and minimizes adverse reactions. Continually reevaluate patients receiving oxycodone hydrochloride to assess the maintenance of pain control and the relative incidence of adverse reactions, as well as monitoring for the development of addiction, abuse, or misuse [see Warnings and Precautions (5.1)]. Frequent communication is important among the prescriber, other members of the healthcare team, the patient, and the caregiver/family during periods of changing analgesic requirements, including initial titration.
If the level of pain increases after dosage stabilization, attempt to identify the source of increased pain before increasing the oxycodone hydrochloride dosage. If unacceptable opioid-related adverse reactions are observed, consider reducing the dosage. Adjust the dosage to obtain an appropriate balance between management of pain and opioid-related adverse reactions.
Do not abruptly discontinue oxycodone hydrochloride in patients who may be physically dependent on opioids. Rapid discontinuation of opioid analgesics in patients who are physically dependent on opioids has resulted in serious withdrawal symptoms, uncontrolled pain, and suicide. Rapid discontinuation has also been associated with attempts to find other sources of opioid analgesics, which may be confused with drug-seeking for abuse. Patients may also attempt to treat their pain or withdrawal symptoms with illicit opioids, such as heroin, and other substances.
When a decision has been made to decrease the dose or discontinue therapy in an opioid-dependent patient taking oxycodone hydrochloride, there are a variety of factors that should be considered, including the dose of oxycodone hydrochloride the patient has been taking, the duration of treatment, the type of pain being treated, and the physical and psychological attributes of the patient. It is important to ensure ongoing care of the patient and to agree on an appropriate tapering schedule and follow-up plan so that patient and provider goals and expectations are clear and realistic. When opioid analgesics are being discontinued due to a suspected substance use disorder, evaluate and treat the patient, or refer for evaluation and treatment of the substance use disorder. Treatment should include evidence-based approaches, such as medication assisted treatment of opioid use disorder. Complex patients with comorbid pain and substance use disorders may benefit from referral to a specialist.
There are no standard opioid tapering schedules that are suitable for all patients. Good clinical practice dictates a patient-specific plan to taper the dose of the opioid gradually. For patients on oxycodone hydrochloride who are physically opioid-dependent, initiate the taper by a small enough increment (e.g., no greater than 10% to 25% of the total daily dose) to avoid withdrawal symptoms, and proceed with dose-lowering at an interval of every 2 to 4 weeks. Patients who have been taking opioids for briefer periods of time may tolerate a more rapid taper.
It may be necessary to provide the patient with lower dosage strengths to accomplish a successful taper. Reassess the patient frequently to manage pain and withdrawal symptoms, should they emerge. Common withdrawal symptoms include restlessness, lacrimation, rhinorrhea, yawning, perspiration, chills, myalgia, and mydriasis. Other signs and symptoms also may develop, including irritability, anxiety, backache, joint pain, weakness, abdominal cramps, insomnia, nausea, anorexia, vomiting, diarrhea, or increased blood pressure, respiratory rate, or heart rate. If withdrawal symptoms arise, it may be necessary to pause the taper for a period of time or raise the dose of the opioid analgesic to the previous dose, and then proceed with a slower taper. In addition, monitor patients for any changes in mood, emergence of suicidal thoughts, or use of other substances. When managing patients taking opioid analgesics, particularly those who have been treated for a long duration and/or with high doses for chronic pain, ensure that a multimodal approach to pain management, including mental health support (if needed), is in place prior to initiating an opioid analgesic taper. A multimodal approach to pain management may optimize the treatment of chronic pain, as well as assist with the successful tapering of the opioid analgesic [see Warnings and Precautions (5.13), Drug Abuse and Dependence (9.3)].
Oxycodone hydrochloride tablets USP:
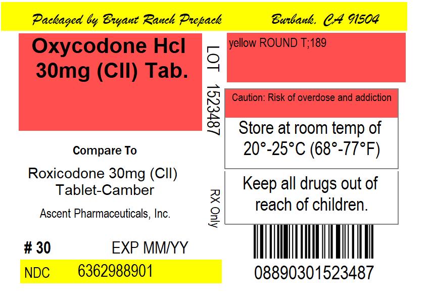
15 mg light yellow, round, biconvex, beveled edge tablets de-bossed with ‘T’ and break line on one side and ‘188’ on the other side.
30 mg light yellow, round, flat faced beveled edge tablets, de-bossed with ‘T’ and ‘189’ with a break line on one side and plain on the other side.
Oxycodone hydrochloride is contraindicated in patients with:
Significant respiratory depression [see Warnings and Precautions (5.3)].
Acute or severe bronchial asthma in an unmonitored setting or in the absence of resuscitative equipment or hypercarbia [see Warnings and Precautions (5.7)].
Known or suspected gastrointestinal obstruction, including paralytic ileus [see Warnings and Precautions (5.11)].
Known hypersensitivity (e.g., anaphylaxis) to oxycodone [see Adverse Reactions (6.2)].
Oxycodone hydrochloride contains oxycodone, a Schedule II controlled substance. As an opioid, oxycodone hydrochloride exposes users to the risks of addiction, abuse, and misuse [see Drug Abuse and Dependence (9)].
Although the risk of addiction in any individual is unknown, it can occur in patients appropriately prescribed oxycodone hydrochloride. Addiction can occur at recommended dosages and if the drug is misused or abused.
Assess each patient’s risk for opioid addiction, abuse, or misuse prior to prescribing oxycodone hydrochloride, and monitor all patients receiving oxycodone hydrochloride for the development of these behaviors and conditions. Risks are increased in patients with a personal or family history of substance abuse (including drug or alcohol abuse or addiction) or mental illness (e.g., major depression). The potential for these risks should not, however, prevent the proper management of pain in any given patient. Patients at increased risk may be prescribed opioids such as oxycodone hydrochloride, but use in such patients necessitates intensive counseling about the risks and proper use of oxycodone hydrochloride along with intensive monitoring for signs of addiction, abuse, and misuse. Consider prescribing naloxone for the emergency treatment of opioid overdose [see Dosage and Administration (2.2), Warnings and Precautions (5.3)].
Opioids are sought by drug abusers and people with addiction disorders and are subject to criminal diversion. Consider these risks when prescribing or dispensing oxycodone hydrochloride. Strategies to reduce these risks include prescribing the drug in the smallest appropriate quantity and advising the patient on the proper disposal of unused drugs [see Patient Counseling Information (17)]. Contact local state professional licensing board or state controlled substances authority for information on how to prevent and detect abuse or diversion of this product.
To ensure that the benefits of opioid analgesics outweigh the risks of addiction, abuse, and misuse, the Food and Drug Administration (FDA) has required a Risk Evaluation and Mitigation Strategy (REMS) for these products. Under the requirements of the REMS, drug companies with approved opioid analgesic products must make REMS-compliant education programs available to healthcare providers. Healthcare providers are strongly encouraged to do all of the following:
To obtain further information on the opioid analgesic REMS and for a list of accredited REMS CME/CE, call 1-800-503-0784, or log on to www.opioidanalgesicrems.com. The FDA Blueprint can be found at www.fda.gov/OpioidAnalgesicREMSBlueprint.
Serious, life-threatening, or fatal respiratory depression has been reported with the use of opioids, even when used as recommended. Respiratory depression, if not immediately recognized and treated, may lead to respiratory arrest and death. Management of respiratory depression may include close observation, supportive measures, and use of opioid antagonists, depending on the patient’s clinical status [see Overdosage (10)]. Carbon dioxide (CO2) retention from opioid-induced respiratory depression can exacerbate the sedating effects of opioids.
While serious, life-threatening, or fatal respiratory depression can occur at any time during the use of oxycodone hydrochloride, the risk is greatest during the initiation of therapy or following a dosage increase. Monitor patients closely for respiratory depression, especially within the first 24 to 72 hours of initiating therapy with and following dosage increases of oxycodone hydrochloride.
To reduce the risk of respiratory depression, proper dosing and titration of oxycodone hydrochloride are essential [see Dosage and Administration (2)]. Overestimating the oxycodone hydrochloride dosage when converting patients from another opioid product can result in fatal overdose with the first dose.
Accidental ingestion of even one dose of oxycodone hydrochloride, especially by children, can result in respiratory depression and death due to an overdose of oxycodone.
Educate patients and caregivers on how to recognize respiratory depression and emphasize the importance of calling 911 or getting emergency medical help right away in the event of a known or suspected overdose[see Patient Counseling Information (17)].
Opioids can cause sleep-related breathing disorders including central sleep apnea (CSA) and sleep-related hypoxemia. Opioid use increases the risk of CSA in a dose-dependent fashion. In patients who present with CSA, consider decreasing the opioid dosage using best practices for opioid taper [see Dosage and Administration (2.4)].
Patient Access to Naloxone for the Emergency Treatment of Opioid Overdose
Discuss the availability of naloxone for the emergency treatment of opioid overdose with the patient and caregiver and assess the potential need for access to naloxone, both when initiating and renewing treatment with oxycodone hydrochloride. Inform patients and caregivers about the various ways to obtain naloxone as permitted by individual state naloxone dispensing and prescribing requirements or guidelines (e.g., by prescription, directly from a pharmacist, or as part of a community-based program). Educate patients and caregivers on how to recognize respiratory depression and emphasize the importance of calling 911 or getting emergency medical help, even if naloxone is administered [see Patient Counseling Information (17)].
Consider prescribing naloxone, based on the patient’s risk factors for overdose, such as concomitant use of CNS depressants, a history of opioid use disorder, or prior opioid overdose. The presence of risk factors for overdose should not prevent the proper management of pain in any given patient. Also consider prescribing naloxone if the patient has household members (including children) or other close contacts at risk for accidental ingestion or overdose. If naloxone is prescribed, educate patients and caregivers on how to treat with naloxone [see Warnings and Precautions (5.1, 5.6), Patient Counseling Information (17)].
Prolonged use of oxycodone hydrochloride during pregnancy can result in withdrawal in the neonate. Neonatal opioid withdrawal syndrome, unlike opioid withdrawal syndrome in adults, may be life-threatening if not recognized and treated, and requires management according to protocols developed by neonatology experts. Observe newborns for signs of neonatal opioid withdrawal syndrome and manage accordingly. Advise pregnant women using opioids for a prolonged period of the risk of neonatal opioid withdrawal syndrome and ensure that appropriate treatment will be available [see Use in Specific Populations (8.1), Patient Counseling Information (17)].
Concomitant use of oxycodone hydrochloride with a CYP3A4 inhibitor, such as macrolide antibiotics (e.g., erythromycin), azole-antifungal agents (e.g., ketoconazole), and protease inhibitors (e.g., ritonavir), may increase plasma concentrations of oxycodone and prolong opioid adverse reactions, which may cause potentially fatal respiratory depression [see Warnings and Precautions (5.3)], particularly when an inhibitor is added after a stable dose of oxycodone hydrochloride is achieved. Similarly, discontinuation of a CYP3A4 inducer, such as rifampin, carbamazepine, and phenytoin, in oxycodone hydrochloride-treated patients may increase oxycodone plasma concentrations and prolong opioid adverse reactions. When using oxycodone hydrochloride with CYP3A4 inhibitors or discontinuing CYP3A4 inducers in oxycodone hydrochloride-treated patients, monitor patients closely at frequent intervals and consider dosage reduction of oxycodone hydrochloride until stable drugs effects are achieved [see Drug Interactions (7)].
Concomitant use of oxycodone hydrochloride with CYP3A4 inducers or discontinuation of an CYP3A4 inhibitor could decrease oxycodone plasma concentrations, decrease opioid efficacy or, possibly, lead to a withdrawal syndrome in a patient who had developed physical dependence to oxycodone. When using oxycodone hydrochloride with CYP3A4 inducers or discontinuing CYP3A4 inhibitors, monitor patients closely at frequent intervals and consider increasing the opioid dosage if needed to maintain adequate analgesia or if symptoms of opioid withdrawal occur [see Drug Interactions (7)].
Profound sedation, respiratory depression, coma, and death may result from the concomitant use of oxycodone hydrochloride with benzodiazepines or other CNS depressants (e.g., non-benzodiazepine sedatives/hypnotics, anxiolytics, tranquilizers, muscle relaxants, general anesthetics, antipsychotics, other opioids, alcohol). Because of these risks, reserve concomitant prescribing of these drugs for use in patients for whom alternative treatment options are inadequate.
Observational studies have demonstrated that concomitant use of opioid analgesics and benzodiazepines increases the risk of drug-related mortality compared to use of opioid analgesics alone. Because of similar pharmacological properties, it is reasonable to expect similar risk with the concomitant use of other CNS depressant drugs with opioid analgesics [see Drug Interactions (7)].
If the decision is made to prescribe a benzodiazepine or other CNS depressant concomitantly with an opioid analgesic, prescribe the lowest effective dosages and minimum durations of concomitant use. In patients already receiving an opioid analgesic, prescribe a lower initial dose of the benzodiazepine or other CNS depressant than indicated in the absence of an opioid, and titrate based on clinical response. If an opioid analgesic is initiated in a patient already taking a benzodiazepine or other CNS depressant, prescribe a lower initial dose of the opioid analgesic, and titrate based on clinical response. Follow patients closely for signs and symptoms of respiratory depression and sedation.
If concomitant use is warranted, consider prescribing naloxone for the emergency treatment of opioid overdose [see Dosage and Administration (2.2), Warnings and Precautions (5.3)].
Advise both patients and caregivers about the risks of respiratory depression and sedation when oxycodone hydrochloride is used with benzodiazepines or other CNS depressants (including alcohol and illicit drugs). Advise patients not to drive or operate dangerous machinery until the effects of concomitant use of the benzodiazepine or other CNS depressant have been determined. Screen patients for risk of substance use disorders, including opioid abuse and misuse, and warn them of the risk for overdose and death associated with the use of additional CNS depressants including alcohol and illicit drugs [see Drug Interactions (7), Patient Counseling Information (17)].
The use of oxycodone hydrochloride in patients with acute or severe bronchial asthma in an unmonitored setting or in the absence of resuscitative equipment is contraindicated.
Patients with Chronic Pulmonary Disease: Oxycodone hydrochloride-treated patients with significant chronic obstructive pulmonary disease or cor pulmonale, and those with a substantially decreased respiratory reserve, hypoxia, hypercapnia, or pre-existing respiratory depression are at increased risk of decreased respiratory drive including apnea, even at recommended dosages of oxycodone hydrochloride [see Warnings and Precautions (5.3)].
Elderly, Cachectic, or Debilitated Patients: Life-threatening respiratory depression is more likely to occur in elderly, cachectic, or debilitated patients because they may have altered pharmacokinetics or altered clearance compared to younger, healthier patients [see Warnings and Precautions (5.3)].
Monitor patients closely, particularly when initiating and titrating oxycodone hydrochloride and when oxycodone hydrochloride is given concomitantly with other drugs that depress respiration [see Warnings and Precautions (5.3)]. Alternatively, consider the use of non-opioid analgesics in these patients.
Cases of adrenal insufficiency have been reported with opioid use, more often following greater than one month of use. Presentation of adrenal insufficiency may include non-specific symptoms and signs including nausea, vomiting, anorexia, fatigue, weakness, dizziness, and low blood pressure. If adrenal insufficiency is suspected, confirm the diagnosis with diagnostic testing as soon as possible. If adrenal insufficiency is diagnosed, treat with physiologic replacement doses of corticosteroids. Wean the patient off of the opioid to allow adrenal function to recover and continue corticosteroid treatment until adrenal function recovers. Other opioids may be tried as some cases reported use of a different opioid without recurrence of adrenal insufficiency. The information available does not identify any particular opioids as being more likely to be associated with adrenal insufficiency.
Oxycodone Hydrochloride may cause severe hypotension including orthostatic hypotension and syncope in ambulatory patients. There is increased risk in patients whose ability to maintain blood pressure has already been compromised by a reduced blood volume or concurrent administration of certain CNS depressant drugs (e.g., phenothiazines or general anesthetics) [see Drug Interactions (7)]. Monitor these patients for signs of hypotension after initiating or titrating the dosage of oxycodone hydrochloride. In patients with circulatory shock, use of oxycodone hydrochloride may cause vasodilation that can further reduce cardiac output and blood pressure. Avoid use of oxycodone hydrochloride in patients with circulatory shock.
In patients who may be susceptible to the intracranial effects of CO2 retention (e.g., those with evidence of increased intracranial pressure or brain tumors), oxycodone hydrochloride may reduce the respiratory drive, and the resultant CO2 retention can further increase intracranial pressure. Monitor such patients for signs of sedation and respiratory depression, particularly when initiating therapy with oxycodone hydrochloride.
Opioids may obscure the clinical course in a patient with a head injury. Avoid the use of oxycodone hydrochloride in patients with impaired consciousness or coma.
Oxycodone hydrochloride is contraindicated in patients with gastrointestinal obstruction, including paralytic ileus.
The oxycodone in oxycodone hydrochloride may cause spasm of the sphincter of Oddi. Opioids may cause increases in serum amylase. Monitor patients with biliary tract disease, including acute pancreatitis, for worsening symptoms.
The oxycodone in oxycodone hydrochloride may increase the frequency of seizures in patients with seizure disorders, and may increase the risk of seizures occurring in other clinical settings associated with seizures. Monitor patients with a history of seizure disorders for worsened seizure control during oxycodone hydrochloride therapy.
Do not abruptly discontinue oxycodone hydrochloride in a patient physically dependent on opioids. When discontinuing oxycodone hydrochloride in a physically dependent patient, gradually taper the dosage. Rapid tapering of oxycodone in a patient physically dependent on opioids may lead to a withdrawal syndrome and return of pain [see Dosage and Administration (2.4), Drug Abuse and Dependence (9.3)].
Additionally, avoid the use of mixed agonist/antagonist (e.g., pentazocine, nalbuphine, and butorphanol) or partial agonist (e.g., buprenorphine) analgesics in patients who are receiving a full opioid agonist analgesic, including oxycodone hydrochloride. In these patients, mixed agonist/antagonist and partial agonist analgesics may reduce the analgesic effect and/or precipitate withdrawal symptoms [see Drug Interactions (7)].
Oxycodone hydrochloride may impair the mental or physical abilities needed to perform potentially hazardous activities such as driving a car or operating machinery. Warn patients not to drive or operate dangerous machinery unless they are tolerant to the effects of oxycodone hydrochloride and know how they will react to the medication [see Patient Counseling Information (17)].
The following serious adverse reactions are described, or described in greater detail, in other sections:
Addiction, Abuse, and Misuse [see Warnings and Precautions (5.1)]
Life-Threatening Respiratory Depression [see Warnings and Precautions (5.3)]
Neonatal Opioid Withdrawal Syndrome [see Warnings and Precautions (5.4)]
Interactions with Benzodiazepines or Other CNS Depressants [see Warnings and Precautions (5.6)]
Adrenal Insufficiency [see Warnings and Precautions (5.8)]
Severe Hypotension [see Warnings and Precautions (5.9)]
Gastrointestinal Adverse Reactions [see Warnings and Precautions (5.11)]
Seizures [see Warnings and Precautions (5.12)]
Withdrawal [see Warnings and Precautions (5.13)]
Because clinical trials are conducted under widely varying conditions, adverse reaction rates observed in the clinical trials of a drug cannot be directly compared to rates in the clinical trials of another drug and may not reflect the rates observed in practice.
Oxycodone hydrochloride tablets have been evaluated in open label clinical trials in patients with cancer and nonmalignant pain. Oxycodone hydrochloride tablets are associated with adverse experiences similar to those seen with other opioids.
Serious adverse reactions associated with oxycodone hydrochloride use included: respiratory depression, respiratory arrest, circulatory depression, cardiac arrest, hypotension, and/or shock.
The common adverse reactions seen on initiation of therapy with oxycodone hydrochloride are dose related and are typical opioid-related adverse reactions. The most frequent of these included nausea, constipation, vomiting, headache, pruritus, insomnia, dizziness, asthenia, and somnolence. The frequency of these reactions depended on several factors, including clinical setting, the patient’s level of opioid tolerance, and host factors specific to the individual.
In all patients for whom dosing information was available (n=191) from the open-label and double-blind studies involving oxycodone hydrochloride, the following adverse events were recorded in oxycodone hydrochloride treated patients with an incidence ≥ 3%. In descending order of frequency they were: nausea, constipation, vomiting, headache, pruritus, insomnia, dizziness, asthenia, and somnolence.
Other less frequently observed adverse reactions from opioid analgesics, including oxycodone hydrochloride included:
Blood and lymphatic system disorders: anemia, leukopenia
Cardiac disorders: cardiac failure, palpitation, tachycardia
Gastrointestinal disorders: abdominal pain, dry mouth, diarrhea, dyspepsia, dysphagia, glossitis, nausea, vomiting.
General disorders and administration site conditions: chills, edema, edema peripheral, pain, pyrexia
Immune system disorders: hypersensitivity
Infections and infestations: bronchitis, gingivitis, infection, pharyngitis, rhinitis, sepsis, sinusitis, urinary tract infection
Injury, poisoning and procedural complications: injury
Metabolism and nutrition disorders: decreased appetite, gout, hyperglycemia
Musculoskeletal and connective tissue disorders: arthralgia, arthritis, back pain, bone pain, myalgia, neck pain, pathological fracture
Nervous system disorders: hypertonia, hypoesthesia, migraine, neuralgia, tremor, vasodilation
Psychiatric disorders: agitation, anxiety, confusional state, nervousness, personality disorder
Respiratory, thoracic and mediastinal disorders: cough, dyspnea, epistaxis, laryngospasm, lung disorder
Skin and subcutaneous tissue disorders: photosensitivity reaction, rash, hyperhidrosis, urticaria
Vascular disorders: thrombophlebitis, hemorrhage, hypotension, vasodilatation
The following adverse reactions have been identified during post-approval use of oxycodone. Because these reactions are reported voluntarily from a population of uncertain size, it is not always possible to reliably estimate their frequency or establish a causal relationship to drug exposure.
General disorders and administrative site disorders: drug withdrawal syndrome neonatal [see Warnings and Precautions (5.4)]
Respiratory, thoracic and mediastinal disorders: pharyngeal edema
Serotonin syndrome: Cases of serotonin syndrome, a potentially life-threatening condition, have been reported during concomitant use of opioids with serotonergic drugs [see Drug Interactions (7)].
Adrenal insufficiency: Cases of adrenal insufficiency have been reported with opioid use, more often following greater than one month of use [see Warnings and Precautions (5.8)].
Anaphylaxis: Anaphylactic reaction has been reported with ingredients contained in oxycodone hydrochloride [see Contraindications (4)].
Androgen deficiency: Cases of androgen deficiency have occurred with chronic use of opioids [see Clinical Pharmacology (12.2)].
Table 1 includes clinically significant drug interactions with oxycodone hydrochloride.
Table 1: Clinically Significant Drug Interactions with Oxycodone Hydrochloride
|
Inhibitors of CYP3A4 and CYP2D6 |
||
|
Clinical Impact: |
The concomitant use of oxycodone hydrochloride and CYP3A4 inhibitors can increase the plasma concentration of oxycodone, resulting in increased or prolonged opioid effects. These effects could be more pronounced with concomitant use of oxycodone hydrochloride and CYP2D6 and CYP3A4 inhibitors, particularly when an inhibitor is added after a stable dose of oxycodone hydrochloride is achieved [see Warnings and Precautions (5.5)]. After stopping a CYP3A4 inhibitor, as the effects of the inhibitor decline, the oxycodone plasma concentration will decrease [see Clinical Pharmacology (12.3)], resulting in decreased opioid efficacy or a withdrawal syndrome in patients who had developed physical dependence to oxycodone. |
|
|
Intervention: |
If concomitant use is necessary, consider dosage reduction of oxycodone hydrochloride until stable drug effects are achieved. Monitor patients for respiratory depression and sedation at frequent intervals. If a CYP3A4 inhibitor is discontinued, consider increasing the oxycodone hydrochloride dosage until stable drug effects are achieved. Monitor for signs of opioid withdrawal. |
|
|
Examples: |
Macrolide antibiotics (e.g., erythromycin), azole-antifungal agents (e.g., ketoconazole), protease inhibitors (e.g., ritonavir). |
|
|
CYP3A4 Inducers |
||
|
Clinical Impact: |
The concomitant use of oxycodone hydrochloride and CYP3A4 inducers can decrease the plasma concentration of oxycodone [see Clinical Pharmacology (12.3)], resulting in decreased efficacy or onset of a withdrawal syndrome in patients who have developed physical dependence to oxycodone [see Warnings and Precautions (5.13)]. After stopping a CYP3A4 inducer, as the effects of the inducer decline, the oxycodone plasma concentration will increase [see Clinical Pharmacology (12.3)], which could increase or prolong both the therapeutic effects and adverse reactions, and may cause serious respiratory depression. |
|
|
Intervention: |
If concomitant use is necessary, consider increasing the oxycodone hydrochloride dosage until stable drug effects are achieved. Monitor for signs of opioid withdrawal. If a CYP3A4 inducer is discontinued, consider oxycodone hydrochloride dosage reduction and monitor for signs of respiratory depression. |
|
|
Examples: |
Rifampin, carbamazepine, phenytoin |
|
|
Benzodiazepines and Other Central Nervous System (CNS) Depressants |
||
|
Clinical Impact: |
Due to additive pharmacologic effect, the concomitant use of benzodiazepines or other CNS depressants, including alcohol, can increase the risk of hypotension, respiratory depression, profound sedation, coma, and death. |
|
|
Intervention: |
Reserve concomitant prescribing of these drugs for use in patients for whom alternative treatment options are inadequate. Limit dosages and durations to the minimum required. Follow patients closely for signs of respiratory depression and sedation [see Warnings and Precautions (5.6)]. If concomitant use is warranted, consider prescribing naloxone for the emergency treatment of opioid overdose [see Dosage and Administration (2.2), Warnings and Precautions (5.1, 5.3, 5.6)]. |
|
|
Examples: |
Benzodiazepines and other sedatives/hypnotics, anxiolytics, tranquilizers, muscle relaxants, general anesthetics, antipsychotics, other opioids, alcohol. |
|
|
Serotonergic Drugs |
||
|
Clinical Impact: |
The concomitant use of opioids with other drugs that affect the serotonergic neurotransmitter system has resulted in serotonin syndrome [see Adverse Reactions (6.2)]. |
|
|
Intervention: |
If concomitant use is warranted, carefully observe the patient, particularly during treatment initiation and dose adjustment. Discontinue oxycodone hydrochloride if serotonin syndrome is suspected. |
|
|
Examples: |
Selective serotonin reuptake inhibitors (SSRIs), serotonin and norepinephrine reuptake inhibitors (SNRIs), tricyclic antidepressants (TCAs), triptans, 5-HT3 receptor antagonists, drugs that affect the serotonin neurotransmitter system (e.g., mirtazapine, trazodone, tramadol), certain muscle relaxants (i.e., cyclobenzaprine, metaxalone), monoamine oxidase (MAO) inhibitors (those intended to treat psychiatric disorders and also others, such as linezolid and intravenous methylene blue). |
|
|
Monoamine Oxidase Inhibitors (MAOIs) |
||
|
Clinical Impact: |
MAOI interactions with opioids may manifest as serotonin syndrome or opioid toxicity (e.g., respiratory depression, coma) [see Warnings and Precautions (5.3)]. |
|
|
Intervention: |
The use of oxycodone hydrochloride is not recommended for patients taking MAOIs or within 14 days of stopping such treatment. If urgent use of an opioid is necessary, use test doses and frequent titration of small doses to treat pain while closely monitoring blood pressure and signs and symptoms of CNS and respiratory depression. |
|
|
Examples: |
phenelzine, tranylcypromine, linezolid |
|
|
Mixed Agonist/Antagonist Opioid Analgesics |
||
|
Clinical Impact: |
May reduce the analgesic effect of oxycodone hydrochloride and/or may precipitate withdrawal symptoms. |
|
|
Intervention: |
Avoid concomitant use |
|
|
Examples: |
Butorphanol, nalbuphine, pentazocine, buprenorphine |
|
|
Muscle Relaxants |
||
|
Clinical Impact: |
Oxycodone may enhance the neuromuscular blocking action of skeletal muscle relaxants and produce an increased degree of respiratory depression. |
|
|
Intervention: |
Monitor patients for signs of respiratory depression that may be greater than otherwise expected and decrease the dosage of oxycodone hydrochloride and/or the muscle relaxant as necessary. Due to the risk of respiratory depression with concomitant use of skeletal muscle relaxants and opioids, consider prescribing naloxone for the emergency treatment of opioid overdose [see Dosage and Administration (2.2), Warnings and Precautions (5.3, 5.6)]. |
|
|
Diuretics |
||
|
Clinical Impact: |
Opioids can reduce the efficacy of diuretics by inducing the release of antidiuretic hormone. |
|
|
Intervention: |
Monitor patients for signs of dismissed diuresis and/or effects on blood pressure and increase the dosage of the diuretic as needed. |
|
|
Anticholinergic Drugs |
||
|
Clinical Impact: |
The concomitant risk of anticholinergic drugs may result in increased risk of urinary retention and/or severe constipation, which may lead to paralytic ileus. |
|
|
Intervention: |
Monitor patients for signs of urinary retention or reduced gastric motility when oxycodone hydrochloride is used concurrently with anticholinergic drugs. |
|
Risk Summary
Prolonged use of opioid analgesics during pregnancy may cause neonatal opioid withdrawal syndrome [see Warnings and Precautions (5.4)]. Available data with oxycodone hydrochloride in pregnant women are insufficient to inform a drug-associated risk for major birth defects and miscarriage. Animal reproduction studies with oral administrations of oxycodone HCl in rats and rabbits during the period of organogenesis at doses 2.6 and 8.1 times, respectively, the human dose of 60 mg/day did not reveal evidence of teratogenicity or embryo-fetal toxicity. In several published studies, treatment of pregnant rats with oxycodone at clinically relevant doses and below, resulted in neurobehavioral effects in offspring [see Data]. Based on animal data, advise pregnant women of the potential risk to a fetus.
All pregnancies have a background risk of birth defect, loss, or other adverse outcomes. In the U.S. general population, the estimated background risk of major birth defects and miscarriage in clinically recognized pregnancies is 2 to 4% and 15 to 20%, respectively.
Clinical Considerations
Fetal/Neonatal Adverse Reactions
Prolonged use of opioid analgesics during pregnancy for medical or non-medical purposes can result in physical dependence in the neonate and neonatal opioid withdrawal syndrome shortly after birth.
Neonatal opioid withdrawal syndrome presents irritability, hyperactivity, and abnormal sleep pattern, high pitched cry, tremor, vomiting, diarrhea, and failure to gain weight. The onset, duration, and severity of neonatal opioid withdrawal syndrome vary based on the specific opioid use, duration of use, timing and amount of last maternal use, and rate of elimination of the drug by the newborn. Observe newborns for symptoms of neonatal opioid withdrawal syndrome and manage accordingly [see Warnings and Precautions (5.4)].
Labor or Delivery
Opioids cross the placenta and may produce respiratory depression and psycho-physiologic effects in neonates. An opioid antagonist such as naloxone, must be available for reversal of opioid-induced respiratory depression in the neonate. Oxycodone hydrochloride is not recommended for use in pregnant women during or immediately prior to labor, when other analgesic techniques are more appropriate. Opioid analgesics, including oxycodone hydrochloride, can prolong labor through actions which temporarily reduce the strength, duration and frequency of uterine contractions. However, this effect is not consistent and may be offset by an increased rate of cervical dilation, which tends to shorten labor. Monitor neonates exposed to opioid analgesics during labor for signs of excess sedation and respiratory depression.
Data
Animal Data
In embryo-fetal development studies in rats and rabbits, pregnant animals received oral doses of oxycodone HCl administered during the period of organogenesis up to 16 mg/kg/day and up to 25 mg/kg/day, respectively. These studies revealed no evidence of teratogenicity or embryo-fetal toxicity due to oxycodone. The highest doses tested in rats and rabbits were equivalent to approximately 2.6 and 8.1 times an adult human dose of 60 mg/day, respectively, on a mg/m2 basis. In published studies, offspring of pregnant rats administered oxycodone during gestation have been reported to exhibit neurobehavioral effects including altered stress responses, increased anxiety-like behavior (2 mg/kg/day IV from Gestation Day 8 to 21 and Postnatal Day 1,3, and 5; 0.3 times an adult human dose of 60 mg/day, on a mg/m2 basis) and altered learning and memory (15 mg/kg/day orally from breeding through parturition; 2.4 times an adult human dose of 60 mg/day, on a mg/m2 basis).
Risk Summary
Oxycodone is present in breast milk. Published lactation studies report variable concentrations of oxycodone in breast milk with administration of immediate-release oxycodone to nursing mothers in the early postpartum period. The lactation studies did not assess breastfed infants for potential adverse reactions. Lactation studies have not been conducted with oxycodone hydrochloride, and no information is available on the effects of the drug on the breastfed infant or the effects of the drug on milk production.
The developmental and health benefits of breastfeeding should be considered along with the mother’s clinical need for oxycodone hydrochloride and any potential adverse effects on the breastfed infant from oxycodone hydrochloride or from the underlying maternal condition.
Clinical Considerations
Infants exposed to oxycodone hydrochloride through breast milk should be monitored for excess sedation and respiratory depression. Withdrawal symptoms can occur in breastfed infants when maternal administration of an opioid analgesic is stopped or when breastfeeding is stopped.
Infertility
Chronic use of opioids may cause reduced fertility in females and males of reproductive potential. It is not known whether these effects on fertility are reversible [see Adverse Reactions (6.2), Clinical Pharmacology (12.2)].
The safety and efficacy of oxycodone hydrochloride in pediatric patients have not been evaluated.
Of the total number of subjects in clinical studies of oxycodone hydrochloride, 20.8% (112/538) were 65 and over, while 7.2% (39/538) were 75 and over. No overall differences in safety or effectiveness were observed between these subjects and younger subjects, and other reported clinical experience has not identified differences in responses between the elderly and younger patients, but greater sensitivity of some older individuals cannot be ruled out.
Elderly patients (aged 65 years or older) may have increased sensitivity to oxycodone. In general, use caution when selecting a dosage for an elderly patient, usually starting at the low end of the dosing range, reflecting the greater frequency of decreased hepatic, renal, or cardiac function and of concomitant disease or other drug therapy.
Respiratory depression is the chief risk for elderly patients treated with opioids, and has occurred after large initial doses were administered to patients who were not opioid-tolerant or when opioids were co-administered with other agents that depress respiration. Titrate the dosage of oxycodone hydrochloride slowly in geriatric patients and monitor closely for signs of central nervous system and respiratory depression [see Warnings and Precautions (5.7)].
Oxycodone is known to be substantially excreted by the kidney, and the risk of adverse reactions to this drug may be greater in patients with impaired renal function. Because elderly patients are more likely to have decreased renal function, care should be taken in dose selection, and it may be useful to monitor renal function.
Because oxycodone is extensively metabolized in the liver, its clearance may decrease in patients with hepatic impairment. Initiate therapy in these patients with a lower than usual dosage of oxycodone hydrochloride and titrate carefully. Monitor closely for adverse events such as respiratory depression, sedation, and hypotension [see Clinical Pharmacology (12.3)].
Because oxycodone is known to be substantially excreted by the kidney, its clearance may decrease in patients with renal impairment. Initiate therapy with a lower than usual dosage of oxycodone hydrochloride and titrate carefully. Monitor closely for adverse events such as respiratory depression, sedation, and hypotension [see Clinical Pharmacology (12.3)].
Oxycodone hydrochloride contains oxycodone, a Schedule II controlled substance.
Oxycodone hydrochloride contains oxycodone, a substance with a high potential for abuse similar to other opioids including fentanyl, hydrocodone hydromorphone, methadone, morphine, oxymorphone, and tapentadol. Oxycodone hydrochloride can be abused and is subject to misuse, addiction, and criminal diversion [see Warnings and Precautions (5.1)].
All patients treated with opioids require careful monitoring for signs of abuse and addiction, because use of opioid analgesic products carries the risk of addiction even under appropriate medical use.
Prescription drug abuse is the intentional non-therapeutic use of a prescription drug, even once, for its rewarding psychological or physiological effects.
Drug addiction is a cluster of behavioral, cognitive, and physiological phenomena that develop after repeated substance use and includes: a strong desire to take the drug, difficulties in controlling its use, persisting in its use despite harmful consequences, a higher priority given to drug use than to other activities and obligations, increased tolerance, and sometimes a physical withdrawal.
“Drug-seeking” behavior is very common in persons with substance use disorders. Drug-seeking tactics include emergency calls or visits near the end of office hours, refusal to undergo appropriate examination, testing or referral, repeated “loss” of prescriptions, tampering with prescriptions, and reluctance to provide prior medical records or contact information for other treating healthcare provider(s). “Doctor shopping” (visiting multiple prescribers to obtain additional prescriptions) is common among drug abusers and people suffering from untreated addiction. Preoccupation with achieving adequate pain relief can be appropriate behavior in a patient with poor pain control.
Abuse and addiction are separate and distinct from physical dependence and tolerance. Healthcare providers should be aware that addiction may not be accompanied by concurrent tolerance and symptoms of physical dependence in all addicts. In addition, abuse of opioids can occur in the absence of true addiction.
Oxycodone hydrochloride, like other opioids, can be diverted for non-medical use into illicit channels of distribution. Careful record-keeping of prescribing information, including quantity, frequency, and renewal requests, as required by state and federal law, is strongly advised.
Proper assessment of the patient, proper prescribing practices, periodic re-evaluation of therapy, and proper dispensing and storage are appropriate measures that help to limit abuse of opioid drugs.
Risks Specific to Abuse of Oxycodone Hydrochloride
Oxycodone hydrochloride is for oral use only. Abuse of oxycodone hydrochloride poses a risk of overdose and death. The risk is increased with concurrent abuse of oxycodone hydrochloride with alcohol and other central nervous system depressants.
Parenteral drug abuse is commonly associated with transmission of infectious diseases such as hepatitis and HIV.
Both tolerance and physical dependence can develop during chronic opioid therapy. Tolerance is the need for increasing doses of opioids to maintain a defined effect such as analgesia (in the absence of disease progression or other external factors). Tolerance may occur to both the desired and undesired effects of drugs, and may develop at different rates for different effects.
Physical dependence is a physiological state in which the body adapts to the drug after a period of regular exposure, resulting in withdrawal symptoms after abrupt discontinuation or a significant dosage reduction of a drug. Withdrawal also may be precipitated through the administration of drugs with opioid antagonist activity (e.g., naloxone, nalmefene), mixed agonist/antagonist analgesics (e.g., pentazocine, butorphanol, nalbuphine), or partial agonists (e.g., buprenorphine). Physical dependence may not occur to a clinically significant degree until after several days to weeks of continued opioid usage.
Do not abruptly discontinue oxycodone hydrochloride in a patient physically dependent on opioids. Rapid tapering of oxycodone hydrochloride in a patient physically dependent on opioids may lead to serious withdrawal symptoms, uncontrolled pain, and suicide. Rapid discontinuation has also been associated with attempts to find other sources of opioid analgesics, which may be confused with drug-seeking for abuse.
When discontinuing oxycodone hydrochloride, gradually taper the dosage using a patient-specific plan that considers the following: the dose of oxycodone hydrochloride the patient has been taking, the duration of treatment, and the physical and psychological attributes of the patient. To improve the likelihood of a successful taper and minimize withdrawal symptoms, it is important that the opioid tapering schedule is agreed upon by the patient. In patients taking opioids for a long duration at high doses, ensure that a multimodal approach to pain management, including mental health support (if needed), is in place prior to initiating an opioid analgesic taper [see Dosage and Administration (2.4), Warnings and Precautions(5.13)].
Infants born to mothers physically dependent on opioids will also be physically dependent and may exhibit respiratory difficulties and withdrawal signs [see Use in Specific Populations (8.1)].
Clinical Presentation
Acute overdose with oxycodone hydrochloride can be manifested by respiratory depression, somnolence progressing to stupor or coma, skeletal muscle flaccidity, cold and clammy skin, constricted pupils, and in some cases, pulmonary edema, bradycardia, hypotension, partial or complete airway obstruction, atypical snoring, and death. Marked mydriasis rather than miosis may be seen with hypoxia in overdose situations [see Clinical Pharmacology (12.2)].
Treatment of Overdose
In case of overdose, priorities are the re-establishment of a patent and protected airway and institution of assisted or controlled ventilation, if needed. Employ other supportive measures (including oxygen and vasopressors) in the management of circulatory shock and pulmonary edema as indicated. Cardiac arrest or arrhythmias will require advanced life-support techniques.
Opioid antagonists, such as naloxone, are specific antidotes to respiratory depression resulting from opioid overdose. For clinically significant respiratory or circulatory depression secondary to opioid overdose, administer an opioid antagonist.
Because the duration of opioid reversal is expected to be less than the duration of action of oxycodone in oxycodone hydrochloride, carefully monitor the patient until spontaneous respiration is reliably reestablished. If the response to an opioid antagonist is suboptimal or only brief in nature, administer additional antagonist as directed by the product’s prescribing information.
In an individual physically dependent on opioids, administration of the recommended usual dosage of the antagonist will precipitate an acute withdrawal syndrome. The severity of the withdrawal symptoms experienced will depend on the degree of physical dependence and the dose of the antagonist administered. If a decision is made to treat serious respiratory depression in the physically dependent patient, administration of the antagonist should be initiated with care and by titration with smaller than usual doses of the antagonist.
Oxycodone hydrochloride tablets USP contains oxycodone, an opioid agonist.
Each tablet for oral administration contains 15 mg, or 30 mg, of oxycodone hydrochloride USP.
Oxycodone hydrochloride is a white, odorless crystalline powder derived from the opium alkaloid, thebaine. Oxycodone hydrochloride dissolves in water (1 g in 6 to 7 mL) and is considered slightly soluble in alcohol (octanol water partition coefficient is 0.7).
Chemically, oxycodone hydrochloride is 4, 5α-epoxy-14-hydroxy-3-methoxy-17-methylmorphinan-6- one hydrochloride and has the following structural formula:

The 15 mg and 30 mg tablets contain the following inactive ingredients: magnesium stearate; microcrystalline cellulose; sodium starch glycolate; colloidal silicon dioxide; lactose; D&C Yellow No. 10.
The 15 mg and 30 mg tablets contain the equivalent of 13.5 mg and 27.0 mg, respectively, of oxycodone free base.
Oxycodone is a full opioid agonist and is relatively selective for the mu-opioid receptor, although it can bind to other opioid receptors at higher doses. The principal therapeutic action of oxycodone is analgesia. Like all full opioid agonists, there is no ceiling effect for analgesia with oxycodone. Clinically, dosage is titrated to provide adequate analgesia and may be limited by adverse reactions, including respiratory and CNS depression.
The precise mechanism of the analgesic action is unknown. However, specific CNS opioid receptors for endogenous compounds with opioid-like activity have been identified throughout the brain and spinal cord and are thought to play a role in the analgesic effects of this drug.
Effects on Central Nervous System
Oxycodone produces respiratory depression by direct action on brain stem respiratory centers. The respiratory depression involves a reduction in the responsiveness of the brain stem respiratory centers to both increases in carbon dioxide tension and electrical stimulation.
Oxycodone causes miosis, even in total darkness. Pinpoint pupils are a sign of opioid overdose but are not pathognomonic (e.g., pontine lesions of hemorrhagic or ischemic origins may produce similar findings). Marked mydriasis rather than miosis may be seen due to hypoxia in overdose situations.
Effects on Gastrointestinal Tract and Other Smooth Muscle
Oxycodone causes a reduction in motility associated with an increase in smooth muscle tone in the antrum of the stomach and duodenum. Digestion of food in the small intestine is delayed and propulsive contractions are decreased. Propulsive peristaltic waves in the colon are decreased, while tone may be increased to the point of spasm, resulting in constipation. Other opioid-induced effects may include a reduction in biliary and pancreatic secretions, spasm of sphincter of Oddi, and transient elevations in serum amylase.
Effects on Cardiovascular System
Oxycodone produces peripheral vasodilatation, which may result in orthostatic hypotension or syncope. Manifestations of histamine release and/or peripheral vasodilatation may include pruritus, flushing, red eyes, sweating, and/or orthostatic hypotension.
Effects on the Endocrine System
Opioids inhibit the secretion of adrenocorticotropic hormone (ACTH), cortisol, and luteinizing hormone (LH) in humans [see Adverse Reactions (6.2)]. They also stimulate prolactin, growth hormone (GH) secretion, and pancreatic secretion of insulin and glucagon.
Chronic use of opioids may influence the hypothalamic-pituitary-gonadal axis, leading to androgen deficiency that may manifest as low libido, impotence, erectile dysfunction, amenorrhea, or infertility. The causal role of opioids in the clinical syndrome of hypogonadism is unknown because the various medical, physical, lifestyle, and psychological stressors that may influence gonadal hormone levels have not been adequately controlled for in studies conducted to date [see Adverse Reactions (6.2)].
Effects on the Immune System
Opioids have been shown to have a variety of effects on components of the immune system in in vitro and animal models. The clinical significance of these findings is unknown. Overall, the effects of opioids appear to be modestly immunosuppressive.
Concentration–Efficacy Relationships
The minimum effective analgesic concentration will vary widely among patients, especially among patients who have been previously treated with potent agonist opioids. The minimum effective analgesic concentration of oxycodone for any individual patient may increase over time due to an increase in pain, the development of a new pain syndrome, and/or the development of analgesic tolerance [see Dosage and Administration (2.1, 2.3)].
Concentration–Adverse Reaction Relationships
There is a relationship between increasing oxycodone plasma concentration and increasing frequency of dose-related opioid adverse reactions such as nausea, vomiting, CNS effects, and respiratory depression. In opioid-tolerant patients, the situation may be altered by the development of tolerance to opioid-related adverse reactions [see Dosage and Administration (2.1, 2.2, 2.3)].
The activity of oxycodone hydrochloride tablets is primarily due to the parent drug oxycodone. Oxycodone hydrochloride tablets are designed to provide immediate release of oxycodone.

Absorption
About 60% to 87% of an oral dose of oxycodone reaches the systemic circulation in comparison to a parenteral dose. This high oral bioavailability (compared to other oral opioids) is due to lower presystemic and/or first-pass metabolism of oxycodone. The relative oral bioavailability of oxycodone hydrochloride 15 mg and 30 mg tablets, compared to the 5 mg oxycodone hydrochloride tablets, is 96% and 101% respectively. Oxycodone hydrochloride 15 mg tablets and 30 mg tablets are bioequivalent to the 5 mg oxycodone hydrochloride tablet (see Table 2 for pharmacokinetic parameters). Dose proportionality of oxycodone has been established using the oxycodone hydrochloride 5 mg tablets at doses of 5 mg, 15 mg (three 5 mg tablets) and 30 mg (six 5 mg tablets) based on extent of absorption (AUC) (see Figure 1). It takes approximately 18 to 24 hours to reach steady-state plasma concentrations of oxycodone with oxycodone hydrochloride.
Food Effect
A single-dose food effect study was conducted in normal volunteers using the 5 mg/5 mL solution. The concurrent intake of a high fat meal was shown to enhance the extent (27% increase in AUC), but not the rate of oxycodone absorption from the oral solution (see Table 2). In addition, food caused a delay in Tmax (1.25 to 2.54 hour). Similar effects of food are expected with the 15 mg and 30 mg tablets.
Distribution
Following intravenous administration, the volume of distribution (Vss) for oxycodone was 2.6 L/kg. Plasma protein binding of oxycodone at 37°C and a pH of 7.4 was about 45%. Oxycodone has been found in breast milk [see Special Populations (8.2)].
Elimination
Metabolism
A high portion of oxycodone is N-dealkylated to noroxycodone during first-pass metabolism, and is catalyzed by CYP3A4. Oxymorphone is formed by the O-demethylation of oxycodone. The metabolism of oxycodone to oxymorphone is catalyzed by CYP2D6 [see Drug Interactions (7)]. Free and conjugated noroxycodone, free and conjugated oxycodone, and oxymorphone are excreted in human urine following a single oral dose of oxycodone. The major circulating metabolite is noroxycodone with an AUC ratio of 0.6 relative to that of oxycodone. Oxymorphone is present in the plasma only in low concentrations. The analgesic activity profile of other metabolites is not known at present.
Excretion
Oxycodone and its metabolites are excreted primarily via the kidney. The amounts measured in the urine have been reported as follows: free oxycodone up to 19%; conjugated oxycodone up to 50%; free oxymorphone 0%; conjugated oxymorphone ≤ 14%; both free and conjugated noroxycodone have been found in the urine but not quantified. The total plasma clearance was 0.8 L/min for adults. Apparent elimination half-life of oxycodone following the administration of oxycodone hydrochloride was 3.5 to 4 hours.
Specific Populations
Age: Geriatric Population
Population pharmacokinetic studies conducted with oxycodone hydrochloride, indicated that the plasma concentrations of oxycodone did not appear to be increased in patients over the age of 65.
Hepatic Impairment
In a clinical trial supporting the development of oxycodone hydrochloride, too few patients with decreased hepatic function were evaluated to study these potential differences. However, because oxycodone is extensively metabolized in the liver, its clearance may decrease in hepatic impaired patients [see Use in Specific Populations (8.6)].
Renal Impairment
This drug is known to be substantially excreted by the kidney, and the risk of adverse reactions to this drug may be greater in patients with impaired renal function [see Use in Specific Populations (8.7)].
Carcinogenesis
Long-term studies have not been performed in animals to evaluate the carcinogenic potential of oxycodone hydrochloride or oxycodone.
Mutagenesis
Oxycodone hydrochloride was genotoxic in an in vitro mouse lymphoma assay in the presence of metabolic activation. There was no evidence of genotoxic potential in an in vitro bacterial reverse mutation assay (Salmonella typhimurium and Escherichia coli) or in an assay for chromosomal aberrations (in vivo mouse bone marrow micronucleus assay).
Impairment of Fertility
Studies in animals to evaluate the potential impact of oxycodone on fertility have not been conducted.
Oxycodone hydrochloride tablets USP are available as follow:
30 mg light yellow, round, flat faced beveled edge tablets, de-bossed with ‘T’ and ‘189’ with a break line on one side and plain on the other side.
Store at 20° to 25°C (68° to 77°F). [see USP Controlled Room Temperature].
Store oxycodone hydrochloride securely and dispose of properly [see Patient Counseling Information (17)].
Repackaged/Relabeled by:
Bryant Ranch Prepack
Burbank, CA 91504
Advise the patient to read the FDA-approved patient labeling (Medication Guide).
Storage and Disposal
Because of the risks associated with accidental ingestion, misuse, and abuse, advise patients to store oxycodone hydrochloride securely, out of sight and reach of children, and in a location not accessible by others, including visitors to the home [see Warnings and Precautions (5.1, 5.3), Drug Abuse and Dependence(9.2)]. Inform patients that leaving oxycodone hydrochloride unsecured can pose a deadly risk to others in the home.
Advise patients and caregivers that when medicines are no longer needed, they should be disposed of promptly. Expired, unwanted, or unused oxycodone hydrochloride should be disposed of by flushing the unused medication down the toilet if a drug take-back option is not readily available. Inform patients that they can visit www.fda.gov/drugdisposal for a complete list of medicines recommended for disposal by flushing, as well as additional information on disposal of unused medicines.
Addiction, Abuse and Misuse
Inform patients that the use of oxycodone hydrochloride, even when taken as recommended, can result in addiction, abuse, and misuse, which can lead to overdose and death [see Warnings and Precautions (5.1)]. Instruct patients not to share oxycodone hydrochloride with others and to take steps to protect oxycodone hydrochloride from theft and misuse.
Life-Threatening Respiratory Depression
Inform patients of the risk of life-threatening respiratory depression, including information that the risk is greatest when starting oxycodone hydrochloride or when the dosage is increased, and that it can occur even at recommended dosages.
Educate patients and caregivers on how to recognize respiratory depression and emphasize the importance of calling 911 or getting emergency medical help right away in the event of a known or suspected overdose [see Warnings and Precautions (5.3)].
Patient Access to Naloxone for the Emergency Treatment of Opioid Overdose
Discuss with the patient and caregiver the availability of naloxone for the emergency treatment of opioid overdose, both when initiating and renewing treatment with oxycodone hydrochloride. Inform patients and caregivers about the various ways to obtain naloxone as permitted by individual state naloxone dispensing and prescribing requirements or guidelines (e.g., by prescription, directly from a pharmacist, or as part of a community-based program) [see Dosage and Administration (2.2), Warnings and Precautions (5.3)].
Educate patients and caregivers on how to recognize the signs and symptoms of an overdose.
Explain to patients and caregivers that naloxone’s effects are temporary, and that they must call 911 or get emergency medical help right away in all cases of known or suspected opioid overdose, even if naloxone is administered [see Overdosage (10)].
If naloxone is prescribed, also advise patients and caregivers:
Accidental Ingestion
Inform patients that accidental ingestion, especially by children, may result in respiratory depression or death [see Warnings and Precautions (5.3)].
Interactions with Benzodiazepines and Other CNS Depressants
Inform patients and caregivers that potentially fatal additive effects may occur if oxycodone hydrochloride is used with benzodiazepines or other CNS depressants, including alcohol, and not to use these concomitantly unless supervised by a healthcare provider [see Warnings and Precautions (5.6), Drug Interactions (7)].
Serotonin Syndrome
Inform patients that opioids could cause a rare but potentially life-threatening condition resulting from concomitant administration of serotonergic drugs. Warn patients of the symptoms of serotonin syndrome and to seek medical attention right away if symptoms develop. Instruct patients to inform their healthcare providers if they are taking, or plan to take serotonergic medication [see Drug Interactions (7)].
MAOI Interaction
Inform patients to avoid taking oxycodone hydrochloride while using any drugs that inhibit monoamine oxidase. Patients should not start MAOIs while taking oxycodone hydrochloride [see Drug Interactions (7)].
Adrenal Insufficiency
Inform patients that opioids could cause adrenal insufficiency, a potentially life-threatening condition. Adrenal insufficiency may present with non-specific symptoms and signs such as nausea, vomiting, anorexia, fatigue, weakness, dizziness and low blood pressure. Advise patients to seek medical attention if they experience a constellation of these symptoms [see Warnings and Precautions (5.8)].
Important Administration Instructions
Instruct patients how to properly take oxycodone hydrochloride. Patients should be advised not to adjust the dose of oxycodone hydrochloride without consulting the prescribing healthcare provider [see Dosage and Administration (2), Warnings and Precautions (5.13)].
Important Discontinuation Instructions
In order to avoid developing withdrawal symptoms, instruct patients not to discontinue oxycodone hydrochloride without first discussing a tapering plan with the prescriber [see Dosage and Administration (2.4)].
Hypotension
Inform patients that oxycodone hydrochloride may cause orthostatic hypotension and syncope. Instruct patients how to recognize symptoms of low blood pressure and how to reduce the risk of serious consequences should hypotension occur (e.g., sit or lie down, carefully rise from sitting or lying position) [see Warnings and Precautions (5.9)].
Anaphylaxis
Inform patients that anaphylaxis has been reported with ingredients contained in oxycodone hydrochloride. Advise patients how to recognize such a reaction and when to seek medical attention [see Contraindications (4), Adverse Reactions (6.2)].
Pregnancy
Neonatal Opioid Withdrawal Syndrome
Inform female patients of reproductive potential that prolonged use of oxycodone hydrochloride during pregnancy can result in neonatal opioid withdrawal syndrome, which may be life-threatening if not recognized and treated [see Warnings and Precautions (5.4), Use in Specific Populations (8.1)].
Embryo-Fetal Toxicity
Inform female patients of reproductive potential that oxycodone hydrochloride can cause fetal harm and to inform their healthcare provider of a known or suspected pregnancy [see Use in Specific Populations (8.1)].
Lactation
Advise nursing mothers to monitor infants for increased sleepiness (more than usual), breathing difficulties, or limpness. Instruct nursing mothers to seek immediate medical care if they notice these signs [see Use in Specific Populations (8.2)].
Infertility
Inform patients that chronic use of opioids may cause reduced fertility. It is not known whether these effects on fertility are reversible [see Use in Specific Populations (8.3)].
Driving or Operating Machinery
Inform patients that oxycodone hydrochloride may impair the ability to perform potentially hazardous activities such as driving a car or operating dangerous machinery. Advise patients not to perform such tasks until they know how they will react to the medication [see Warnings and Precautions (5.14)].
Constipation
Advise patients of the potential for severe constipation, including management instructions and when to seek medical attention [see Adverse Reactions (6), Clinical Pharmacology (12.1)].
Manufactured by:
Ascent Pharmaceuticals, Inc.
Central Islip, NY 11722
Manufactured for:
Camber Pharmaceuticals, Inc.
Piscataway, NJ 08854
To request medical information or to report suspected adverse reactions, contact Camber Pharmaceuticals Inc., at 1-866-495-8330.
Rev: 03/21
|
Oxycodone hydrochloride (ox" i koe' done hye’’ droe klor’ ide) Tablets USP, CII |
|
Oxycodone hydrochloride tablets are:
|
|
Important information about oxycodone hydrochloride tablets:
|
|
Do not take oxycodone hydrochloride tablets if you have:
|
|
Before taking oxycodone hydrochloride tablets, tell your healthcare provider if you have a history of:
Tell your healthcare provider if you are:
|
|
When taking oxycodone hydrochloride tablets:
|
|
While taking oxycodone hydrochloride tablets DO NOT:
|
|
The possible side effects of oxycodone hydrochloride tablets are:
Get emergency medical help or call 911 right away if you have:
These are not all the possible side effects of oxycodone hydrochloride tablets. Call your doctor for medical advice about side effects. You may report side effects to FDA at 1-800-FDA-1088. For more information go to fda.report or call 1-866-495-8330 |
|
Manufactured by: Ascent Pharmaceuticals, Inc. Central Islip, NY 11722 Manufactured for: Camber Pharmaceuticals, Inc. Piscataway, NJ 08854 |
This Medication Guide has been approved by the U.S. Food and Drug Administration.
Rev: 03/21
| OXYCODONE HYDROCHLORIDE
oxycodone hydrochloride tablet |
||||||||||||||||||||||||||||||
|
||||||||||||||||||||||||||||||
|
||||||||||||||||||||||||||||||
|
||||||||||||||||||||||||||||||
|
||||||||||||||||||||||||||||||
|
||||||||||||||||||||||||||||||
|
||||||||||||||||||||||||||||||
| Labeler - Bryant Ranch Prepack (171714327) |
| Registrant - Bryant Ranch Prepack (171714327) |
| Establishment | |||
| Name | Address | ID/FEI | Business Operations |
|---|---|---|---|
| Bryant Ranch Prepack | 171714327 | REPACK(63629-8890) , RELABEL(63629-8890) | |